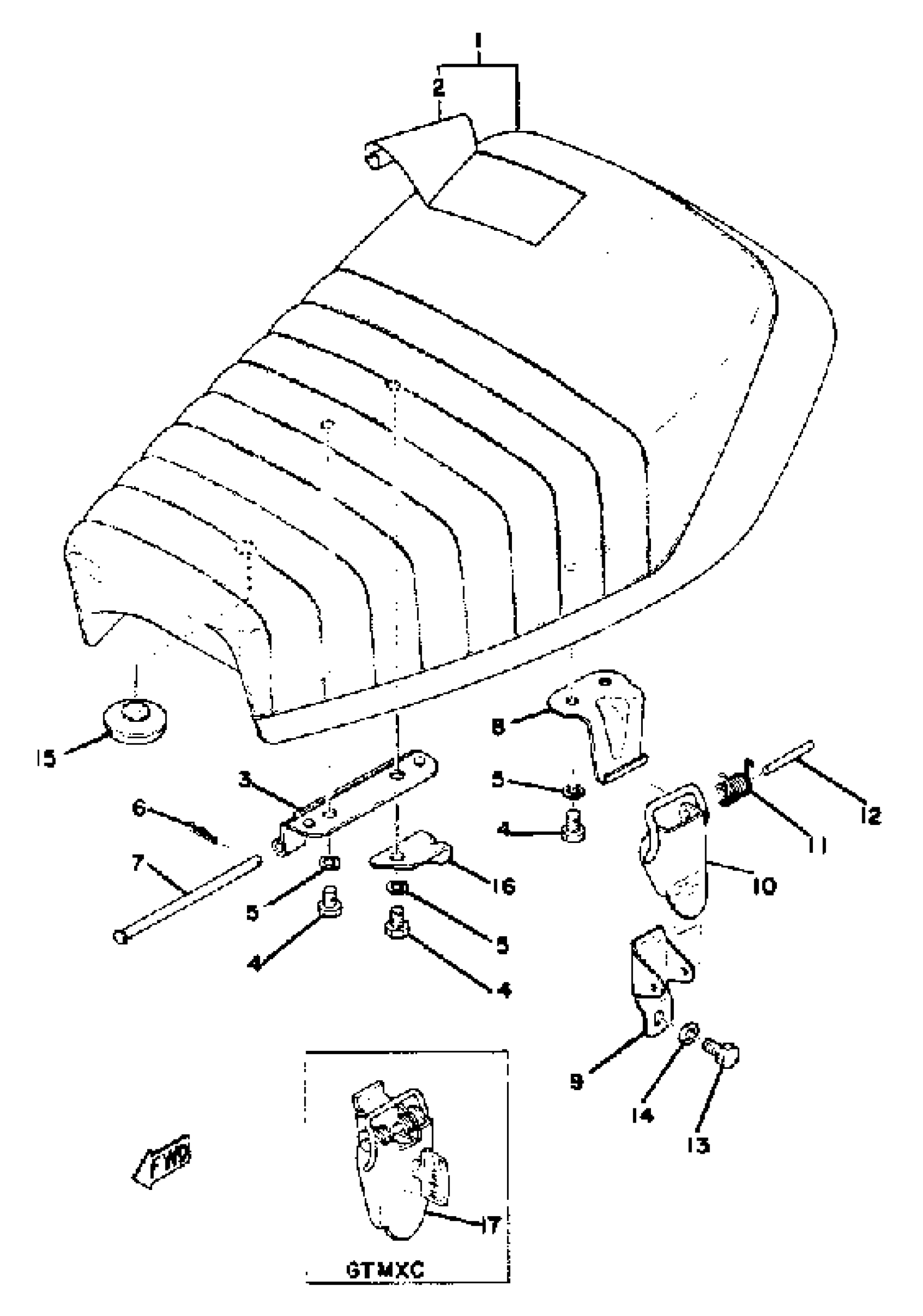
Yamaha GTMXC (GTMX) 1976 SEAT Diagram
#
Description
Price
1
SEMI-DBL-SEAT ASSEMBLY
2A3-W2473-00-00
Unavailable
2
. COVER, SM-DBL SEAT
2A3-24771-00-00
Unavailable
3
HINGE, SEAT
353-24726-00-00
Unavailable
5
WASHER, SPRING
92995-06100-00
Unavailable
7
PIN, CLEVIS (3M7)
91701-05105-00
Unavailable
8
BRACKET, SEAT
278-24728-00-00
Unavailable
9
BRACKET, SEAT
214-24718-00-00
Unavailable
10
LEVER, SEAT
214-24776-00-33
Unavailable
11
. SPRING, TORSION
90508-10012-00
Unavailable
12
. PIN, SPECIAL SHAPE
90249-04068-00
Unavailable
16
STOPPER
374-24768-00-00
Unavailable
17
SEAT LOCK ASSEMBLY
526-24705-00-00
Unavailable
