- Partiron
- OEM Parts
- Suzuki
- Motorcycle
- 1977
- GT750 (1977)
BATTERY
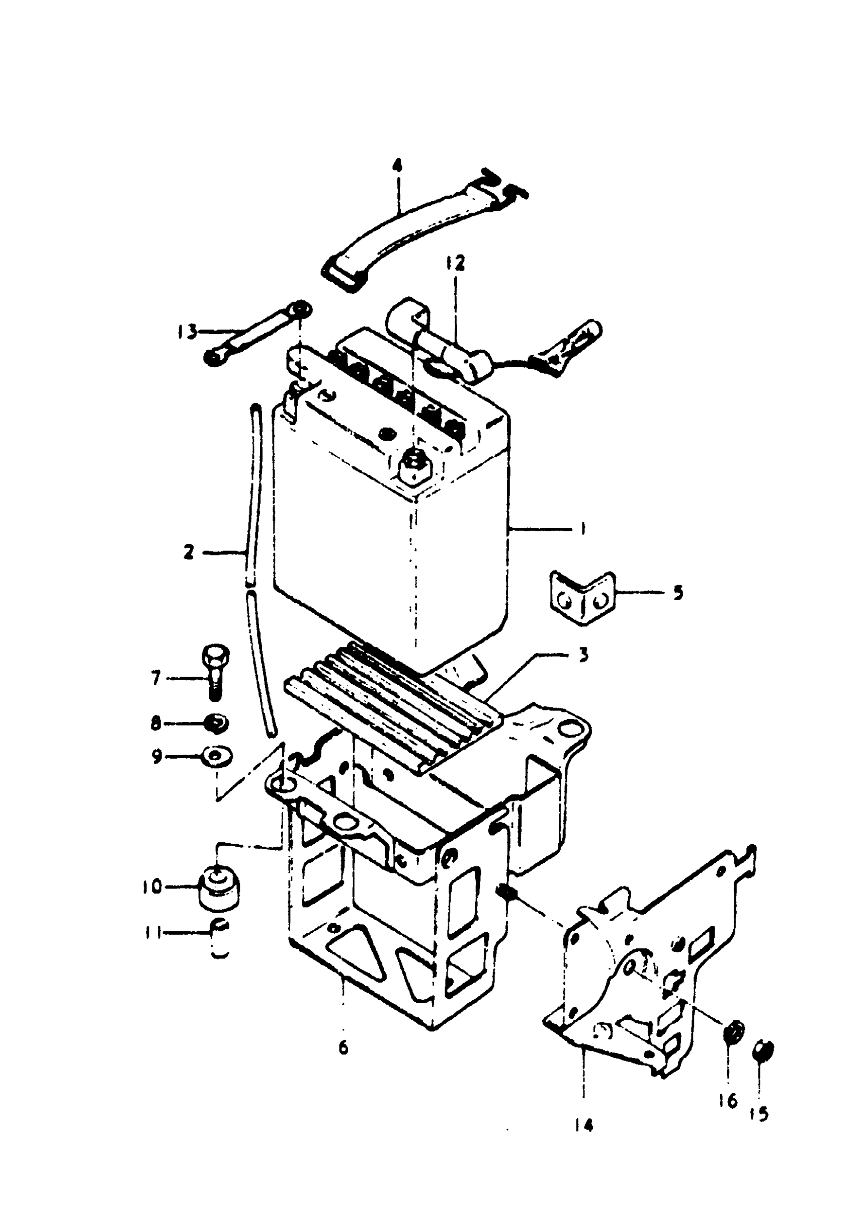
Suzuki GT750 (1977) BATTERY Diagram
#
Description
Price
1
BATTERY (12V,14AH) | K,L,M,A,B; 12V, 14AH This part replaces 33610-31010.
33610-49210
Unavailable
2
HOSE, BATTERY EXHAUST | L,M,A; TO 33680-31003
33680-31002
Unavailable
4
BAND | KL,M,A,B
09462-00050
Unavailable
5
PROTECTOR, BATTERY (2) | M,A
33652-31000
Unavailable
6
HOLDER, BATTERY | K,L,M,A,B
41540-31000
Unavailable
12
LEAD WIRE, BATTERY (+) | K,L,M,A,B
36861-31001
Unavailable
13
WIRE, ENG GROUN | K,L,M,A,B This part replaces 36862-31000.
33850-35400
Unavailable
14
PLATE, ELECTRIC HOLDER | K
37900-31000
Unavailable
14
PLATE, ELECTRIC HOLDER | L,M,A,B
32680-31200
Unavailable
