- Partiron
- OEM Parts
- Suzuki
- Motorcycle
- 1972
- GT750 (1972)
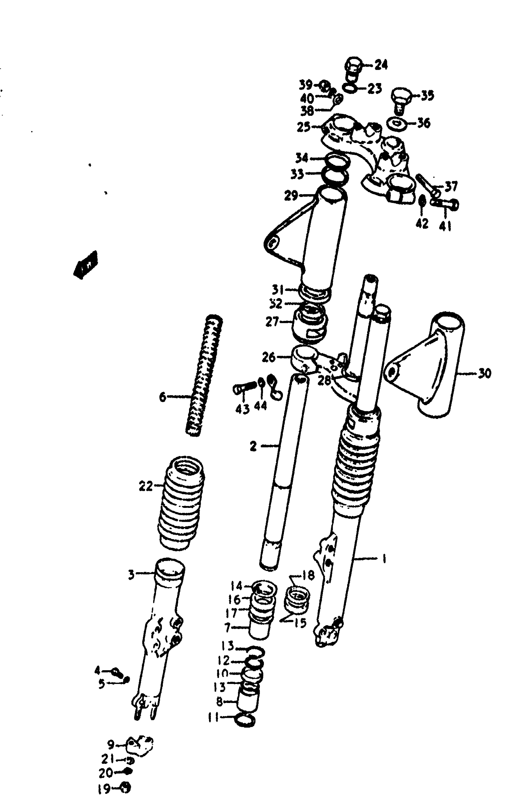
FRONT FORK
Suzuki GT750 (1972) FRONT FORK Diagram
#
0
FORK ASSY, FRONT
51100-31000-195
Unavailable
0
FORK ASSY, FRONT | Includes Item(s) 1 - 44
51100-31000-216
Unavailable
1
DAMPER ASSY, FRONT FORK
51103-31030
Unavailable
2
TUBE, INNER
51111-31030
Unavailable
3
TUBE, OUTER
51130-31031
Unavailable
6
SPRING, FRONT FORK
51171-31033
Unavailable
7
GUIDE, INNER TUBE
51152-31030
Unavailable
8
PISTON, INNER TUBE
51112-31030
Unavailable
9
HOLDER, AXLE
51132-31030
Unavailable
10
DAMPER
51114-31030
Unavailable
11
SNAP RING, PISTON
51119-31030
Unavailable
12
RING, VALVE STOPPER
51118-31030
Unavailable
13
RING, PISTON STOPPER
51116-31030
Unavailable
14
CIRCLIP
51156-31030
Unavailable
18
RING This part replaces 51158-34730.
51158-45440
Unavailable
22
BOOT
51571-33030
Unavailable
24
CAP, INNER TUBE
51351-31030
Unavailable
25
BRACKET, FORK UPPER
51311-31000-019
Unavailable
26
BRACKET, FORK LOWER
51410-31001
Unavailable
27
GUIDE, BOOTS
51570-31000
Unavailable
29
NO DESCRIPTION AVAILABLE This part replaces 51530-31000-195.
51500-31830-126
Unavailable
29
BRACKET, HEADLAMP RH
51530-31000-216
Unavailable
30
NO DESCRIPTION AVAILABLE This part replaces 51540-31000-195.
51500-31830-126
Unavailable
30
BRACKET, HEADLAMP LH
51540-31000-216
Unavailable
31
SEAT, HEADLAMP BRACKET
51551-31000
Unavailable
32
CUSHION, HEADLAMP BRACKET
51553-31000
Unavailable
33
CAP, HEADLAMP BRACKET
51555-31000
Unavailable
34
CUSHION, HEADLAMP BRACKET
51556-31000
Unavailable
35
BOLT, UPPER BRACKET
09104-10005
Unavailable
36
WASHER, UPPER BRACKET
09160-10036
Unavailable
