- Partiron
- OEM Parts
- Suzuki
- Motorcycle
- 1977
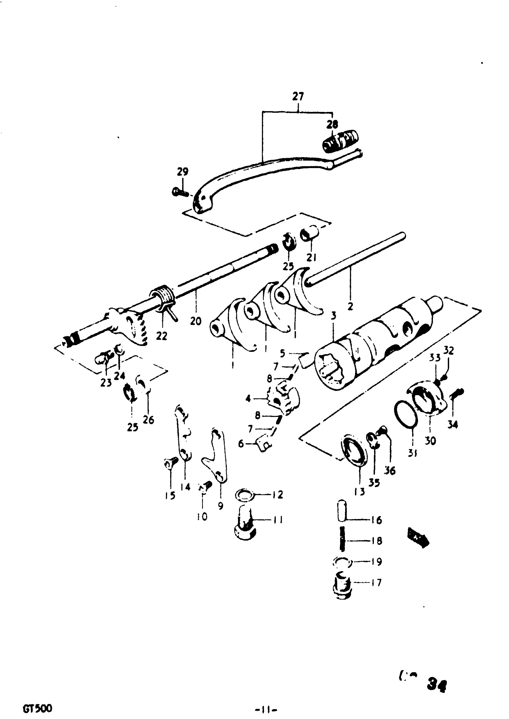
- GT500 (1977)
GEAR SHIFTING
Suzuki GT500 (1977) GEAR SHIFTING Diagram
#
Description
Price
1
FORK, GEAR SHIFTING | A,B
25211-15000
Unavailable
2
SHAFT, GEAR SHIFTING FORK | A,B
25411-15000
Unavailable
3
CAM | A,B
25310-15002
Unavailable
11
BOLT, CAM GUIDE | A,B
09119-14003
Unavailable
14
STOPPER, PAWL | A,B
25341-31000
Unavailable
20
SHAFT, GEAR SHIFTING | A,B
25510-15001
Unavailable
21
SPACER | A,B
09180-12021
Unavailable
26
CUSHION | A,B
09320-13004
Unavailable
27
LEVER ASSY, GEAR SHIFTING | A,B; Includes Item(s) 28 This part replaces 25600-18002.
25600-18001
Unavailable
30
BODY, GEAR SHIFTING SWITCH | A,B
37721-15002
Unavailable
