- Partiron
- OEM Parts
- Suzuki
- Motorcycle
- 1977
- GT380 (1977)
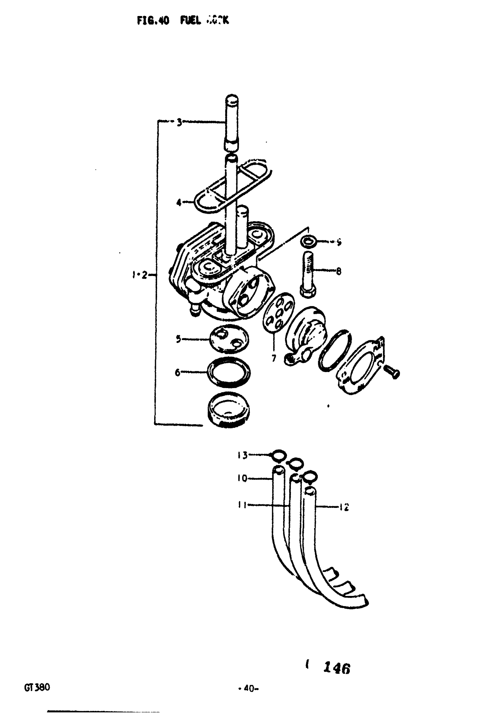
FUEL COCK
Suzuki GT380 (1977) FUEL COCK Diagram
#
Description
Price
1
COCK ASSY, FUEL | K; TO 44300-33051
44300-33050
Unavailable
1
COCK ASSY, FUEL | L; TO 44300-33151
44300-33150
Unavailable
1
COCK ASSY,FUEL | M; TO 44300-33152 This part replaces 44300-33151.
44300-33601
Unavailable
1
COCK ASSY,FUEL | M; TO 44300-33153 This part replaces 44300-33152.
44300-33601
Unavailable
1
COCK ASSY,FUEL | A; TO 44300-33154 This part replaces 44300-33153.
44300-33601
Unavailable
2
COCK ASSY,FUEL | B; Includes Item(s) 3 - 7 This part replaces 44300-33600.
44300-33601
Unavailable
4
O RING | K,L,M,A,B This part replaces 44348-31050.
44348-31051
Unavailable
5
FILTER | K,L,M,A,B
44344-31050
Unavailable
7
GASKET | K
44376-31050
Unavailable
12
HOSE | L,M; TO 09343-07003
09343-07002
Unavailable
13
CLIP | K; TO 09401-08401
09386-08001
Unavailable
