- Partiron
- OEM Parts
- Suzuki
- Motorcycle
- 2026
- GSX800TRQBM6 (2026)
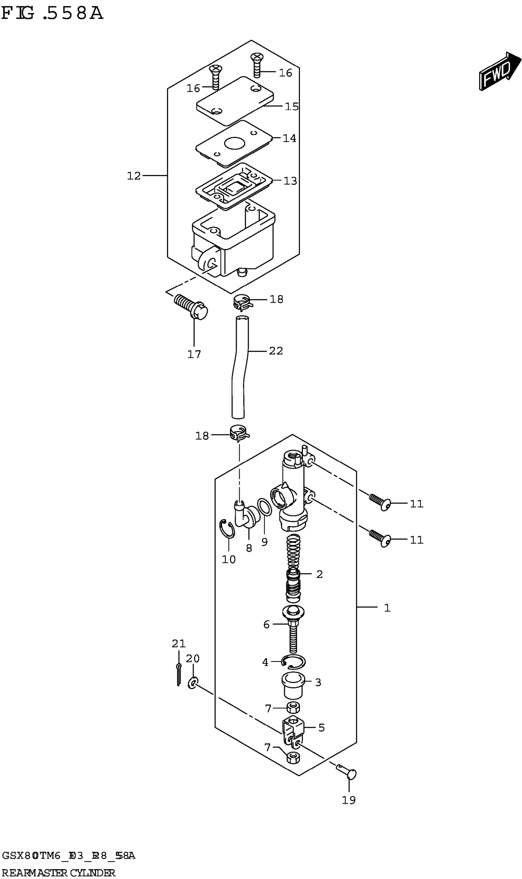
REAR MASTER CYLINDER
Suzuki GSX800TRQBM6 (2026) REAR MASTER CYLINDER Diagram
#
Description
Price
12
TANK ASSY,REAR RESERVOIR
69740-44G20
Unavailable
16
.SCREW
69689-48H00
Unavailable
