- Partiron
- OEM Parts
- Suzuki
- Motorcycle
- 2026
- GSX800TRQBM6 (2026)
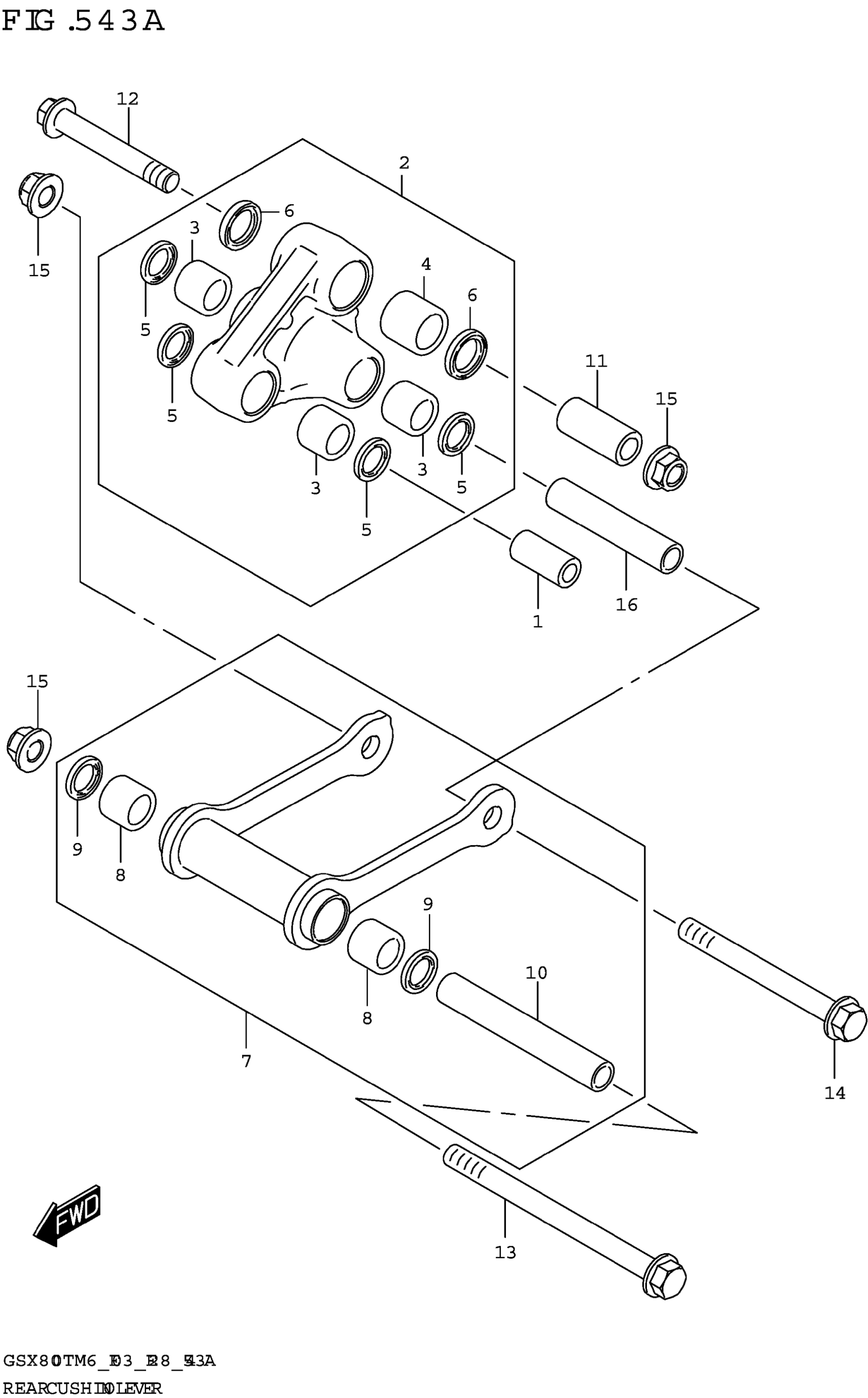
REAR CUSHION LEVER
Suzuki GSX800TRQBM6 (2026) REAR CUSHION LEVER Diagram
#
Description
Price
13
BOLT (L:155)
09103-12031
Unavailable
