Partiron

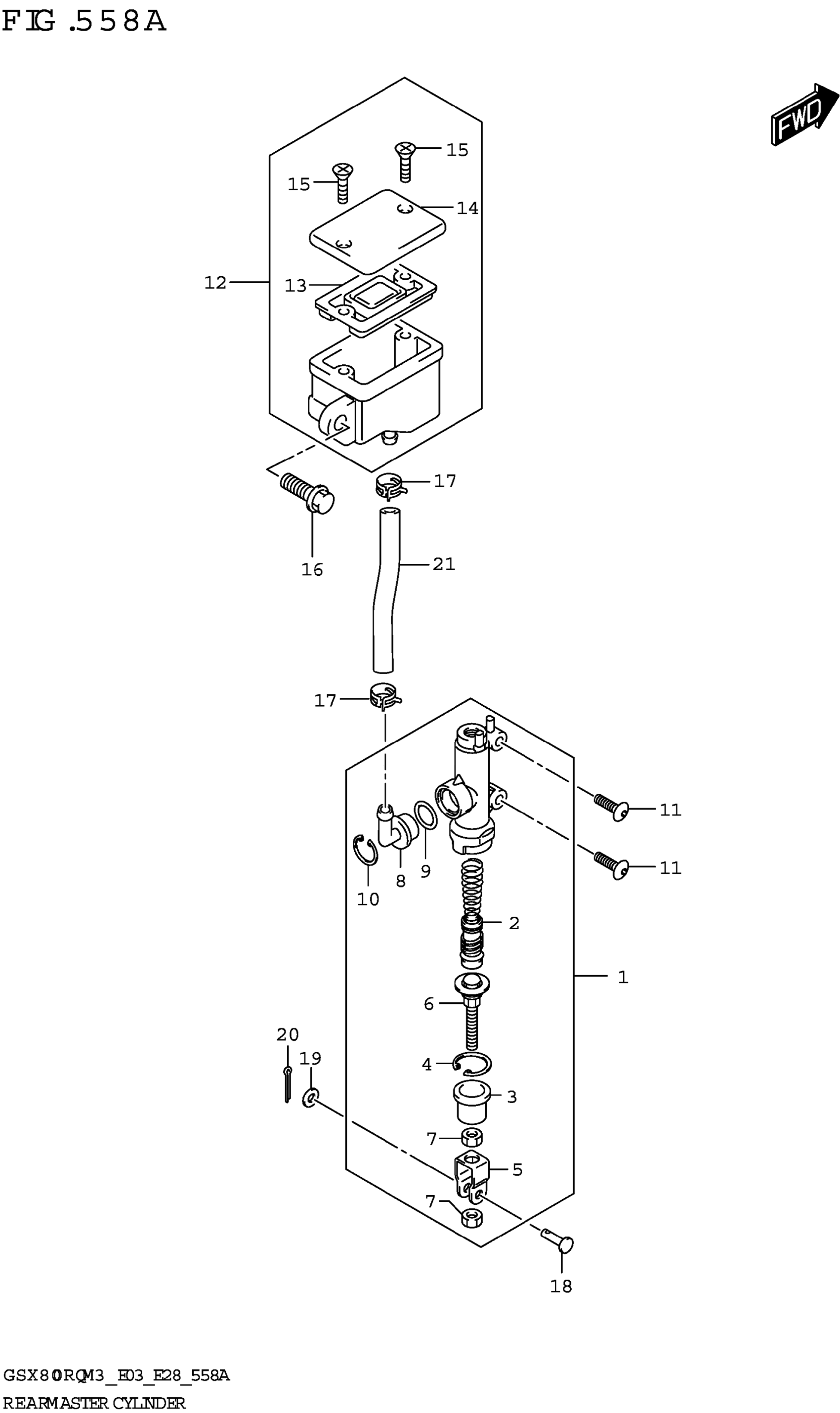
Suzuki GSX800RQM3 (2023) REAR MASTER CYLINDER Diagram

#

Description
Price

1

CYLINDER ASSY,RR MASTER

69600-47H10

$312.98

2

.PISTON/CUP SET

69600-34810

$56.48

3

.BOOT

69691-00A00

$5.30

4

.CIRCLIP

69665-47H00

$5.02

5

.YOKE

69692-44H00

$16.87

6

.ROD,PUSH

69670-40A00

$25.62

7

.NUT

69693-05A00

$1.96

8

.CONNECTOR

69672-00B20

$7.01

9

.O-RING

69686-34200

$2.93

10

.CIRCLIP

69674-00B20

$3.97

11

SCREW (6X20)

09139-06028

$3.70

12

TANK ASSY,REAR RESERVOIR

69740-44G00

$57.93

13

.DIAPHRAGM

59667-04700

$9.78

14

.CAP

59669-05D00

$16.76

15

.SCREW

69689-04A00

$1.78

16

BOLT

01547-0616A

$2.03

17

CLIP (ID:12)

09401-12404

$2.34

18

PIN (6X18.2) This part replaces 09200-06037.

09200-06068

$4.11

19

WASHER

08322-0106A

$1.84

20

PIN

04111-2015A

$1.49

21

HOSE,RR RESERVOIR TANK

69731-25L00

$14.45