Partiron

Suzuki GSX800RQM3 (2023) CYLINDER HEAD COVER Diagram

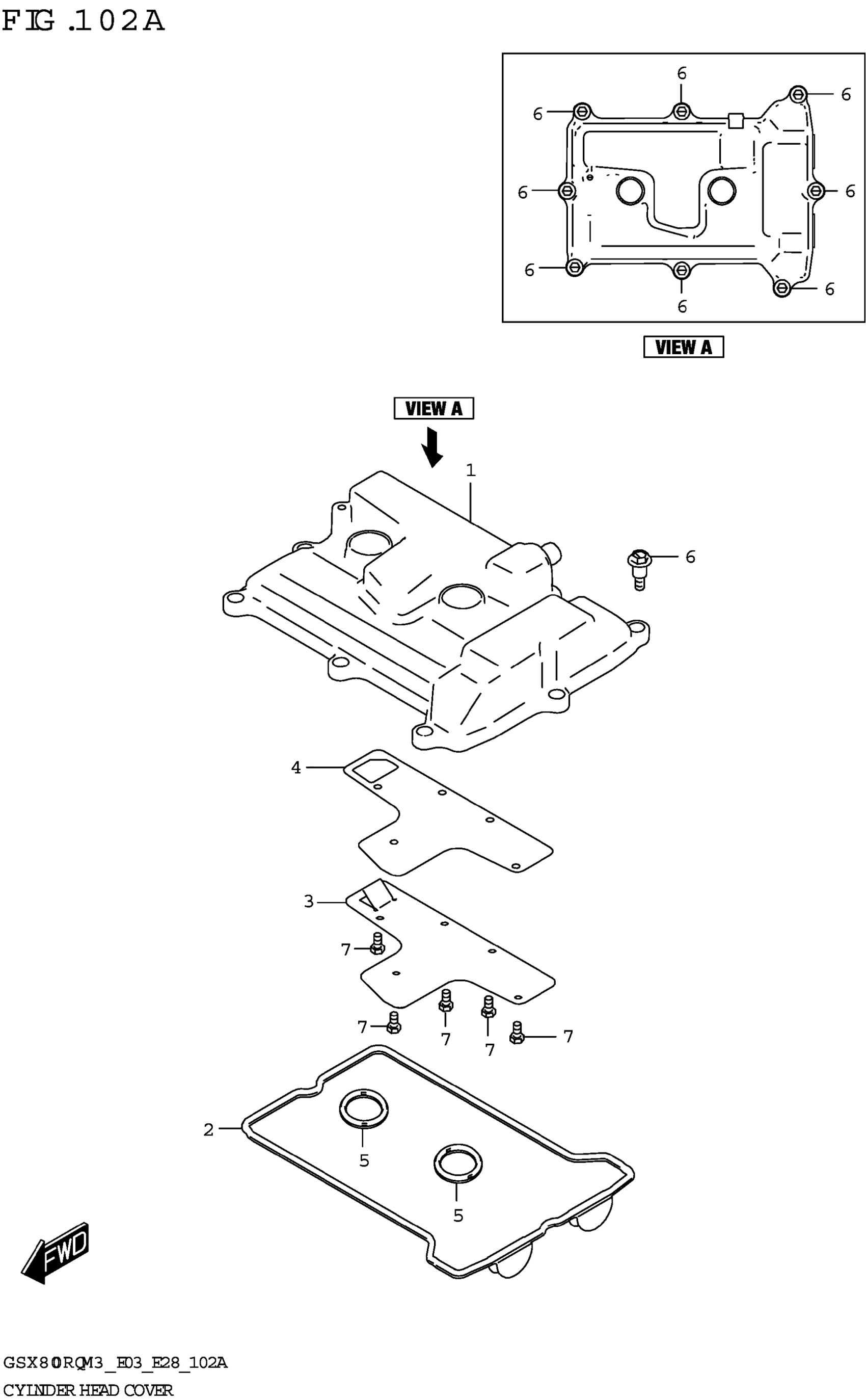
#

Description
Price

1

COVER,CYLINDER HEAD

11170-25L00

$233.20

2

.GASKET,CYL HEAD COVER NO.1

11173-25L00

$16.02

3

PLATE,BREATHER

11176-25L00

$9.33

4

.GASKET,BREATHER PLATE

11177-25L00

$16.48

5

.GASKET,CYL HEAD COVER NO.2

11178-33E00

$6.20

6

BOLT,CYLINDER HEAD COVER

11178-69L00

$1.83

7

BOLT

09100-05022

$1.49