- Partiron
- OEM Parts
- Suzuki
- Motorcycle
- 1996
- GSX750FT (1996)
CANISTER (CALIFORNIA ONLY)
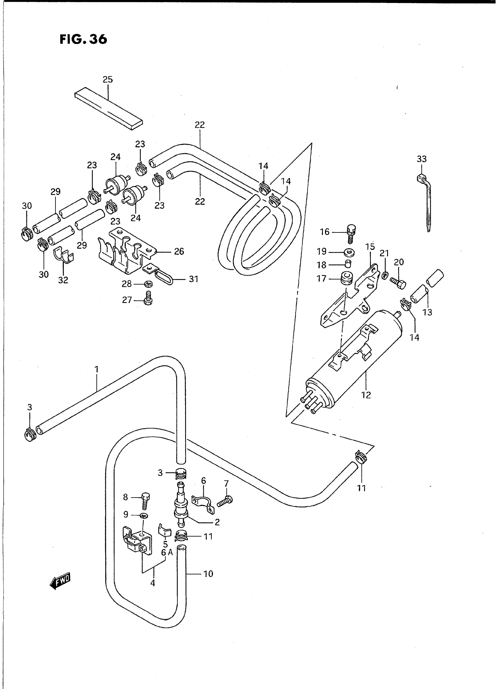
Suzuki GSX750FT (1996) CANISTER (CALIFORNIA ONLY) Diagram
#
Description
Price
1
HOSE, CANISTER & CARB | L:2000->620 This part replaces 09354-54115-00B.
09355-54115-00B
Unavailable
4
BRACKET, BREATHER VALVE | Includes Item(s) 5
44890-19C00
Unavailable
8
BOLT, BRACKET | MODEL K/L/M/N/P/R
01500-05107
Unavailable
10
HOSE, BREATHER-CANISTER
44434-20C00
Unavailable
12
CANISTER ASSY
17210-20C00
Unavailable
15
BRACKET, CANISTER MOUNTING
44871-19C00
Unavailable
24
VALVE, CANISTER PURGE
44250-48B00
Unavailable
26
HOLDER, VACUUM VALVE
44881-20C00
Unavailable
27
BOLT | MODEL S/T This part replaces 01570-06103.
01570-0610A
Unavailable
29
HOSE, TANK & BREATHER VALVE | L:600->380 This part replaces 09354-54115-600.
09355-54115-600
$14.59
31
GUIDE, CANISTER-PURGE HOSE | MODEL K This part replaces 44480-20C00.
44480-20C01
Unavailable
31
GUIDE, CANISTER-PURGE HOSE | MODEL L/M/N/P/R/S/T
44480-20C01
Unavailable
32
CLAMP (ID:11.8X2)
09408-00043
Unavailable
