- Partiron
- OEM Parts
- Suzuki
- Motorcycle
- 2006
- GSX750FK4 (2006)
CARBURETOR
Suzuki GSX750FK4 (2006) CARBURETOR Diagram
#
Description
Price
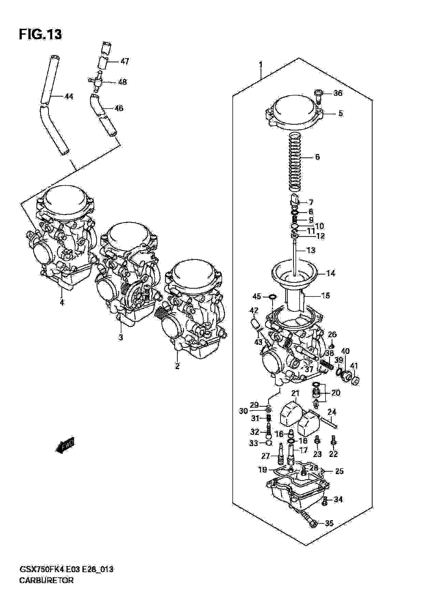
1
CARBURETOR ASSY, LH | E3,E28
13201-08F31
Unavailable
1
CARBURETOR ASSY, LH | E33
13201-08F41
Unavailable
2
CARBURETOR ASSY, ML | E3,E28
13202-08F31
Unavailable
2
CARBURETOR ASSY, ML | E33
13202-08F41
Unavailable
3
CARBURETOR ASSY, MR | E3,E28
13203-08F31
Unavailable
3
CARBURETOR ASSY, MR | E33
13203-08F41
Unavailable
4
CARBURETOR ASSY, RH | E3,E28
13204-08F31
Unavailable
4
CARBURETOR ASSY, RH | E33
13204-08F41
Unavailable
13
NEEDLE, JET (5DF21-53-1) | E3,E28
13383-08F30
Unavailable
13
NEEDLE, JET (5DF22-53-1) | E33
13383-08F40
Unavailable
26
JET, PILOT AIR (140) | E3,E28
09493-28013
Unavailable
26
JET, PILOT AIR (130) | E33
09492-26002
Unavailable
