- Partiron
- OEM Parts
- Suzuki
- Motorcycle
- 1993
- GSX750F (1993)
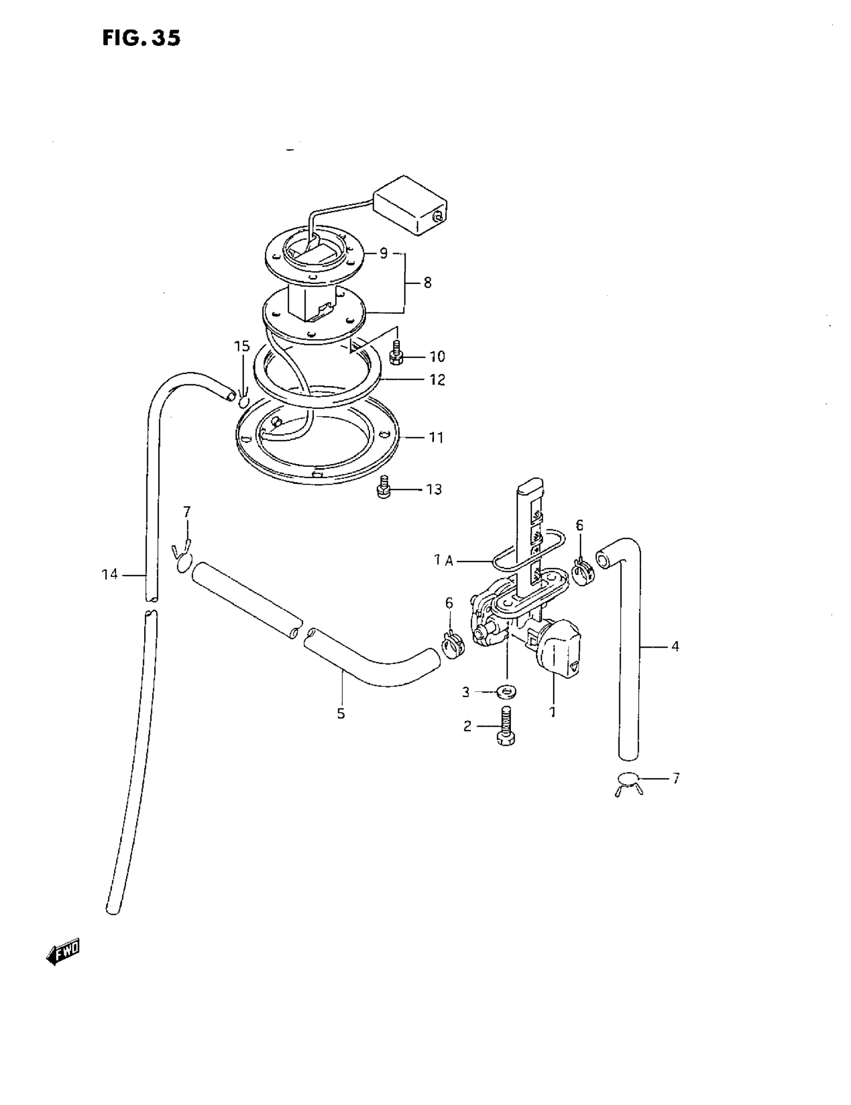
FUEL COCK
Suzuki GSX750F (1993) FUEL COCK Diagram
#
Description
Price
1
COCK ASSY,FUEL This part replaces 44300-20C00.
44300-20C01
Unavailable
8
GUAGE ASSY, FUEL LEVEL
34810-20C00
Unavailable
11
PLATE, FUEL DRAIN
34885-40A00
Unavailable
