- Partiron
- OEM Parts
- Suzuki
- Motorcycle
- 1993
- GSX600F (1993)
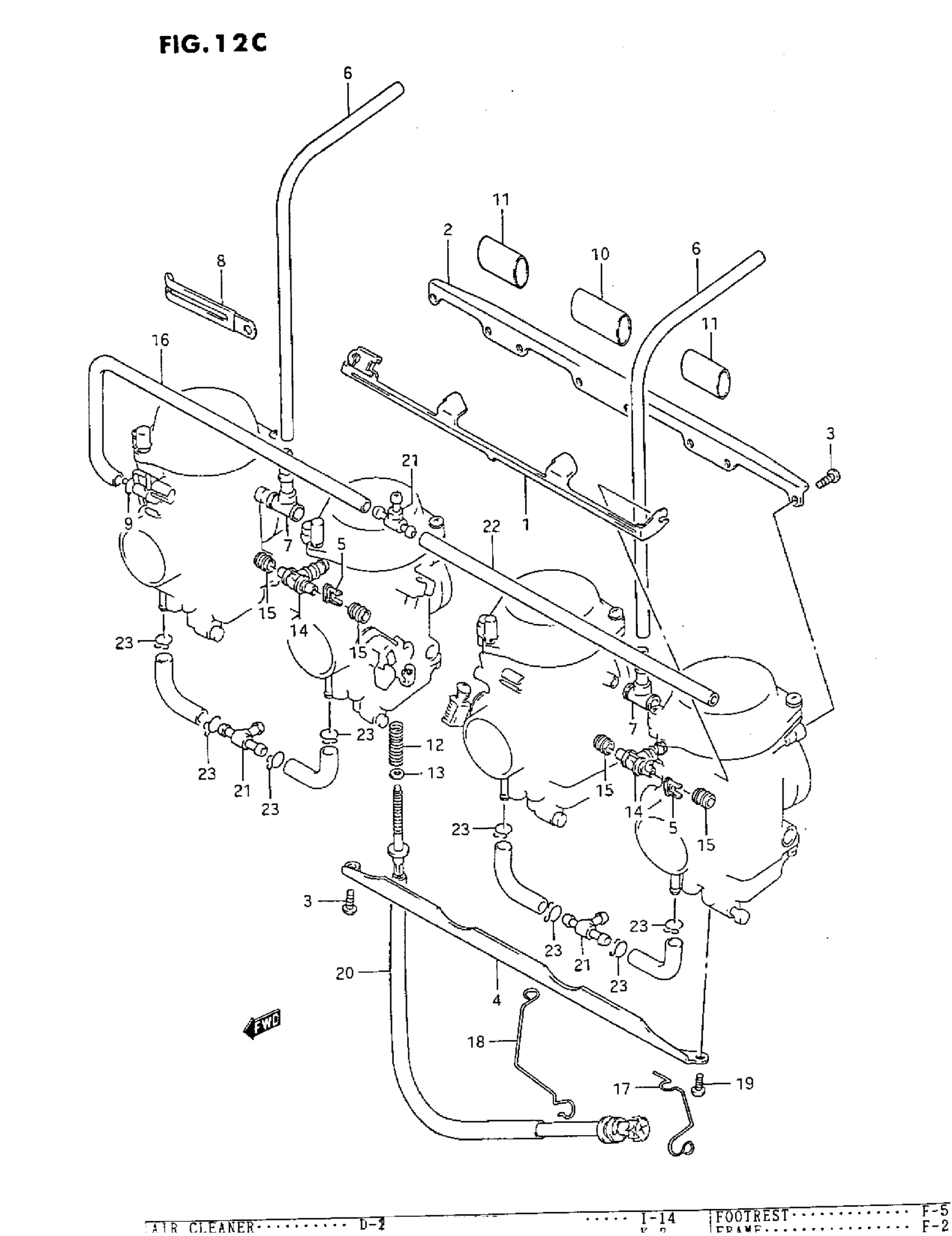
CARBURETOR FITTINGS (L/M/N/P/R)
Suzuki GSX600F (1993) CARBURETOR FITTINGS (L/M/N/P/R) Diagram
#
Description
Price
1
LEVER
13413-20C00
Unavailable
2
PLATE
13628-17C10
Unavailable
4
PLATE
13628-17C00
Unavailable
10
HOSE This part replaces 13684-17C00.
13684-43440
Unavailable
11
HOSE This part replaces 13684-17C10.
13684-43440
Unavailable
16
HOSE (L:380)
13684-20C00
Unavailable
16
HOSE (L:380->200) | CALIFORNIA ONLY
13684-20C00
Unavailable
17
CLIP
13671-20C00
Unavailable
20
ADJUSTER
13279-20C00
Unavailable
