- Partiron
- OEM Parts
- Suzuki
- Motorcycle
- 1993
- GSX600F (1993)
CANISTER (CALIFORNIA ONLY,L/M/N/P/R)
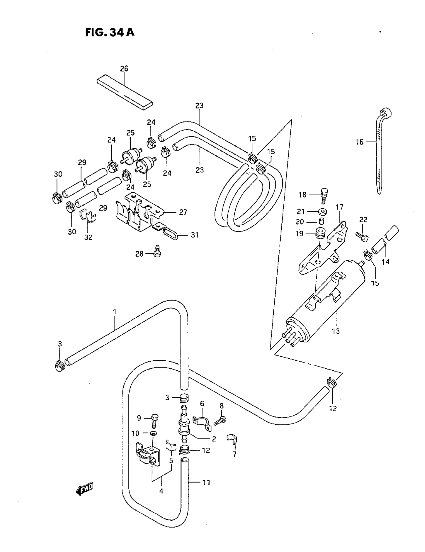
Suzuki GSX600F (1993) CANISTER (CALIFORNIA ONLY,L/M/N/P/R) Diagram
#
Description
Price
1
HOSE, CANISTER & CARB | L:1000->620 This part replaces 09358-54116-00A.
09355-54115-00B
Unavailable
4
BRACKET, BREATHER VALVE
44890-19C00
Unavailable
11
HOSE, BREATHER-CANISTER
44434-20C00
Unavailable
13
CANISTER ASSY
17210-20C00
Unavailable
17
BRACKET, CANISTER MOUNTING
44871-19C00
Unavailable
25
VALVE, CANISTER PURGE
44250-48B00
Unavailable
27
HOLDER, VACUUM VALVE
44881-20C00
Unavailable
29
HOSE, TANK & BREATHER VALVE | L:600->380 This part replaces 09354-54115-600.
09355-54115-600
$14.59
31
GUIDE, CANISTER-PURGE HOSE
44480-20C01
Unavailable
32
CLAMP (ID:11.8X2)
09408-00043
Unavailable
