- Partiron
- OEM Parts
- Suzuki
- Motorcycle
- 2025
- GSX250RRLJM5 (2025)
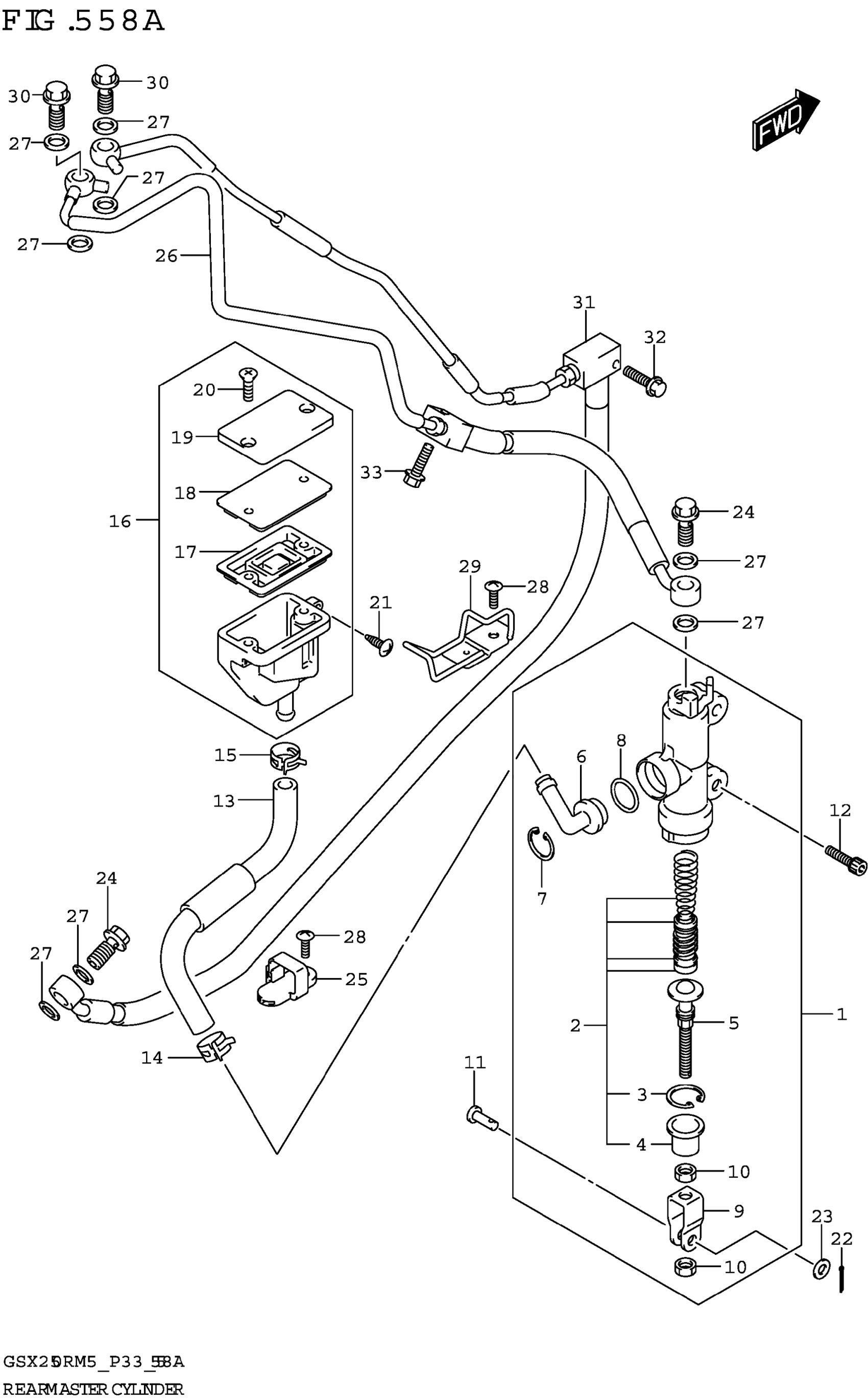
REAR MASTER CYLINDER
Suzuki GSX250RRLJM5 (2025) REAR MASTER CYLINDER Diagram
#
Description
Price
12
BOLT
69698-48H00
Unavailable
14
CLIP,RR RSVR TANK HOSE LWR
69735-48H00
Unavailable
15
CLIP,RR RSVR TANK HOSE UPR
69735-48H10
Unavailable
24
BOLT,BRAKE FLUID
59492-48H00
Unavailable
26
HOSE ASSY,RR BK MASTER TO UNI
69200-20K00
Unavailable
30
BOLT,BRAKE FLUID (M10X1.25)
59492-48H20
Unavailable
31
HOSE ASSY,UNIT TO RR BK CLPR
69400-20K00
Unavailable
