- Partiron
- OEM Parts
- Suzuki
- Motorcycle
- 2019
- GSX250RL9 (2019)
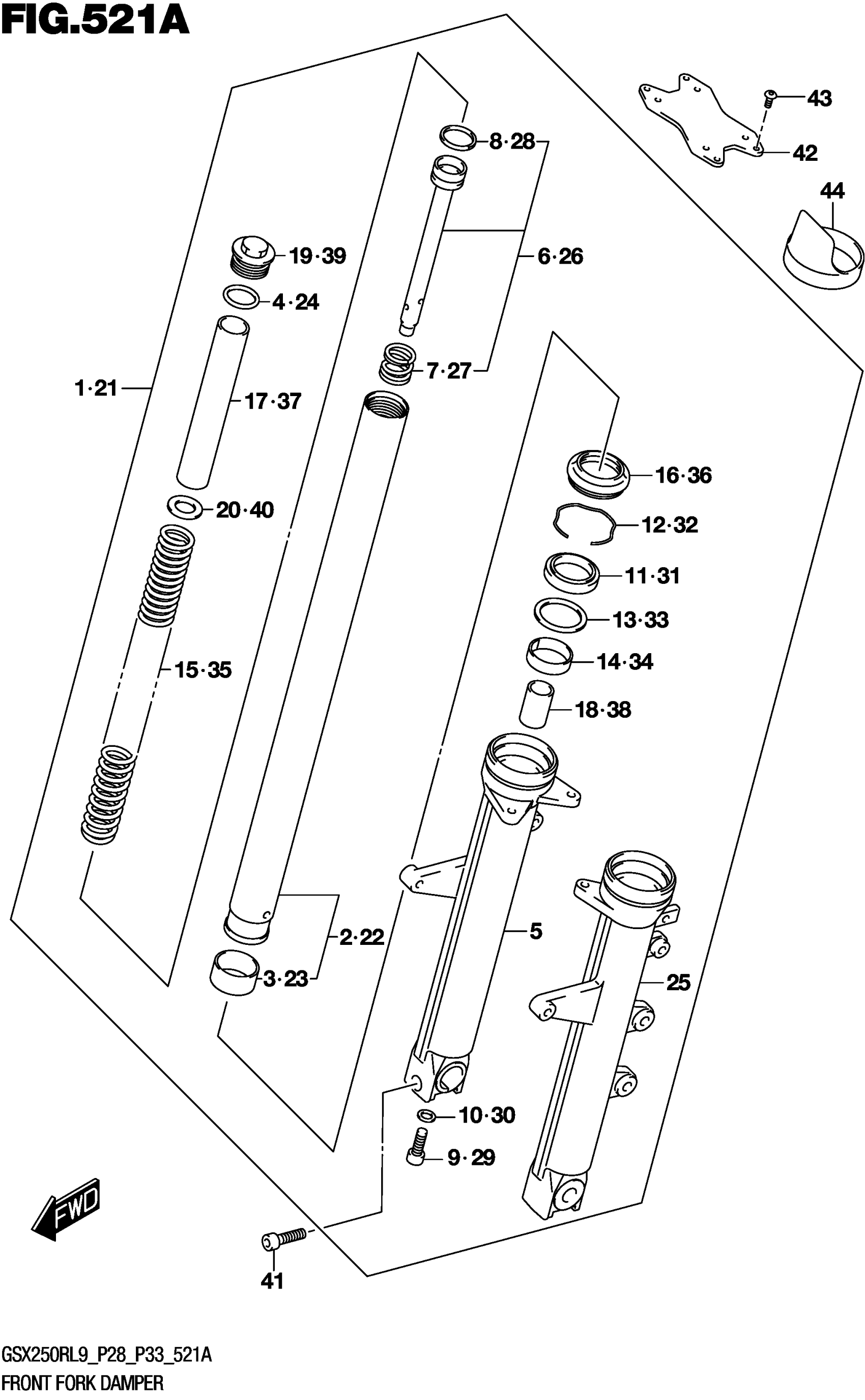
FRONT FORK DAMPER
Suzuki GSX250RL9 (2019) FRONT FORK DAMPER Diagram
#
Description
Price
17
.SPACER
51176-48H10
Unavailable
37
.SPACER
51176-48H10
Unavailable
41
BOLT
51328-48H00
Unavailable
42
STABILIZER,FR
51471-48H00
Unavailable
