Partiron

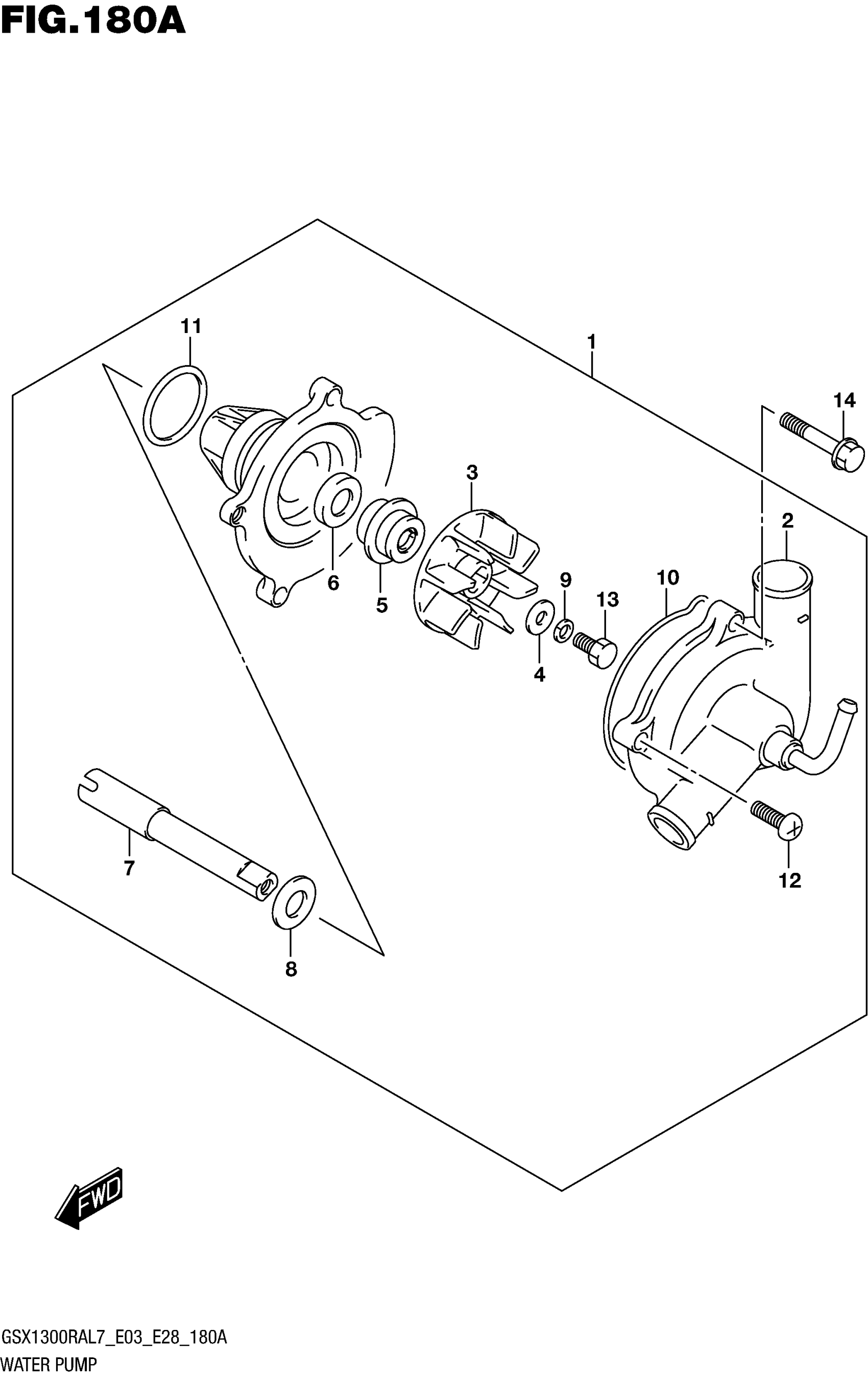
Suzuki GSX1300RAL7 (2017) WATER PUMP Diagram

#

Description
Price

1

PUMP ASSY,WATER This part replaces 17400-24F10.

17400-24F11

$251.18

2

.CASE

17411-24F00

$142.35

3

.IMPELLER

17491-17E01

$26.78

4

.GASKET (6X15X2.2)

09168-06025

$2.92

5

.SEAL,MECHANICAL This part replaces 17470-02F10.

17470-02F11

$29.22

6

.SEAL,OIL (10X21X5)

17461-48G00

$13.23

7

.SHAFT

17511-24F10

$122.58

8

.WASHER

17432-07G00

$2.60

9

.WASHER

09164-06006

$2.61

10

.O-RING This part replaces 17418-33400.

17418-33401

$4.48

11

.O-RING

17435-33400

$15.29

12

.SCREW

02112-0616A

$1.49

13

.BOLT (6X13)

09100-06099

$2.00

14

BOLT

01547-0635A

$2.30