- Partiron
- OEM Parts
- Suzuki
- Motorcycle
- 2017
- GSX1300RAL7 (2017)
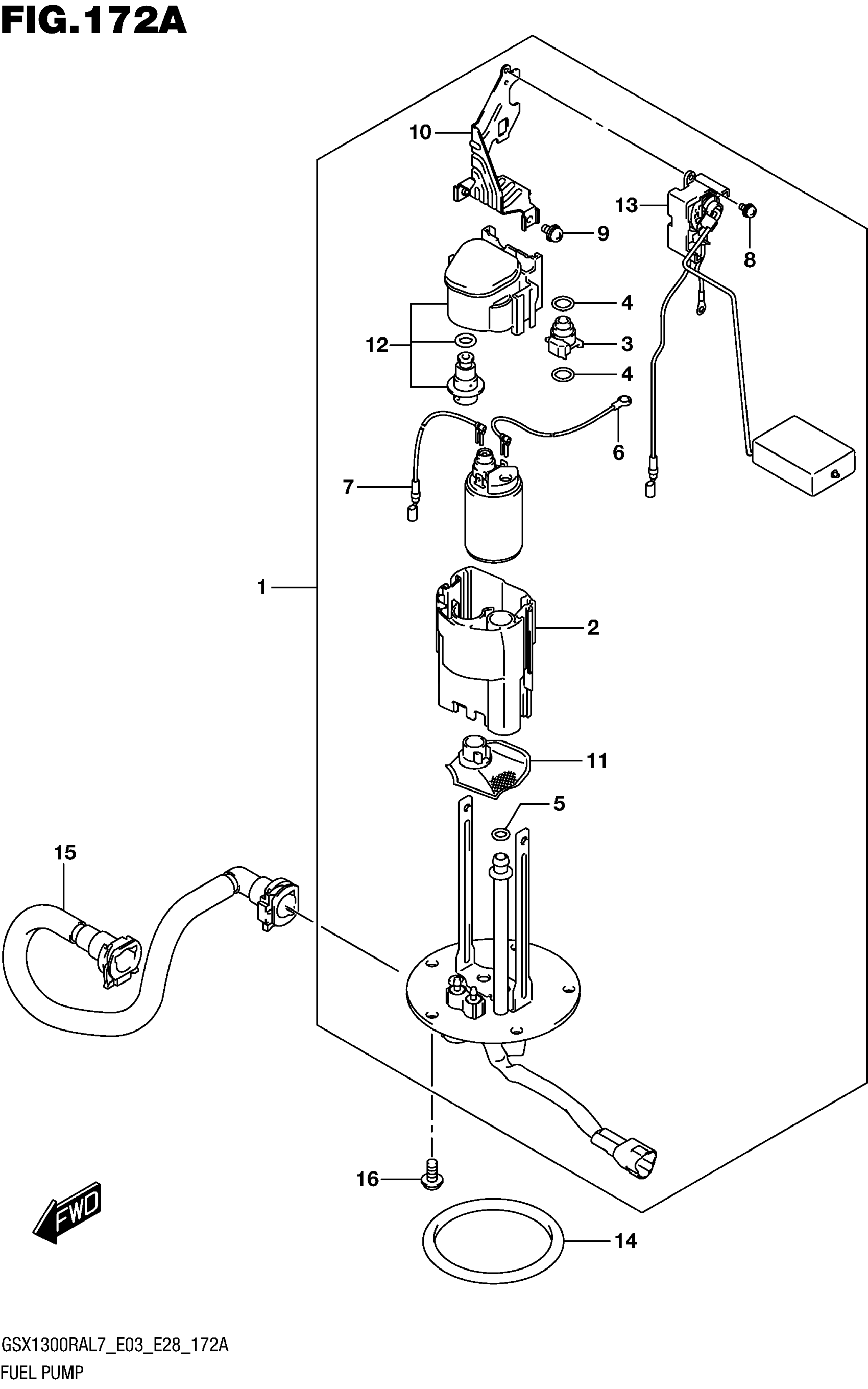
FUEL PUMP
Suzuki GSX1300RAL7 (2017) FUEL PUMP Diagram
#
Description
Price
6
.WIRE, EARTH
15114-14J00
Unavailable
7
.WIRE,LEAD
15115-08J00
Unavailable
10
.BRACKET, GAUGE
15181-15H10
Unavailable
