Partiron

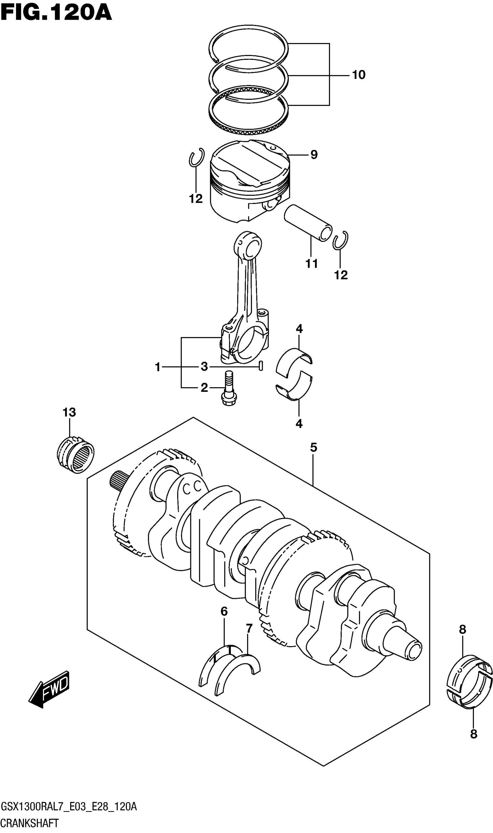
Suzuki GSX1300RAL7 (2017) CRANKSHAFT Diagram

#

Description
Price

1

ROD ASSY, CONNECTING

12160-15H00

$239.55

2

.BOLT,CONNECTING ROD

12163-24F10

$16.45

3

PIN (4X13.8)

04221-04089

$1.49

4-1

BEARING, CRANK PIN (GREEN)

12164-46E01-0A0

$16.80

4-2

BEARING, CRANK PIN (BLACK)

12164-46E01-0B0

$16.80

4-3

BEARING, CRANK PIN (BROWN)

12164-46E01-0C0

$17.30

4-4

BEARING, CRANK PIN (YELLOW)

12164-46E01-0D0

$17.30

5

CRANKSHAFT SET

12000-15811

$1,729.45

6

.BEARING, THRUST RH (GREEN)

12228-24F00-0D0

$10.81

7-1

.BEARING,CRANK THRUST,L (RED)

12228-24F00-0A0

$12.80

7-2

.BEARING,CRANK THRUST,L (BLAC

12228-24F00-0B0

$12.72

7-3

.BEARING,CRANK THRUST,L (BLUE

12228-24F00-0C0

$12.72

7-4

.BEARING, THRUST LH (GREEN)

12228-24F00-0D0

$10.81

7-5

.BEARING,CRANK THRUST,L (YELL

12228-24F00-0E0

$13.28

7-6

.BEARING,CRANK THRUST,L (WHIT

12228-24F00-0F0

$13.28

8-1

BEARING,CRANKSHAFT (GREEN)

12229-15H10-0A0

$13.71

8-2

BEARING,CRANKSHAFT (BLACK)

12229-15H10-0B0

$14.30

8-3

BEARING,CRANKSHAFT (BROWN)

12229-15H10-0C0

$13.89

8-4

BEARING,CRANKSHAFT (YELLOW)

12229-15H10-0D0

$13.89

8-5

BEARING,CRANKSHAFT (BLUE)

12229-15H10-0E0

$14.37

9

PISTON

12111-15H00-0F0

$247.67

10

RING SET, PISTON

12140-15H10

$94.37

11

PIN, PISTON

12151-07D00

$18.43

12

CIRCLIP This part replaces 09381-18003.

09381-18005

$1.90

13

SPROCKET,CAM CHAIN DRIVE

12731-24F10

$63.58