- Partiron
- OEM Parts
- Suzuki
- Motorcycle
- 2014
- GSX1300RAL4 (2014)
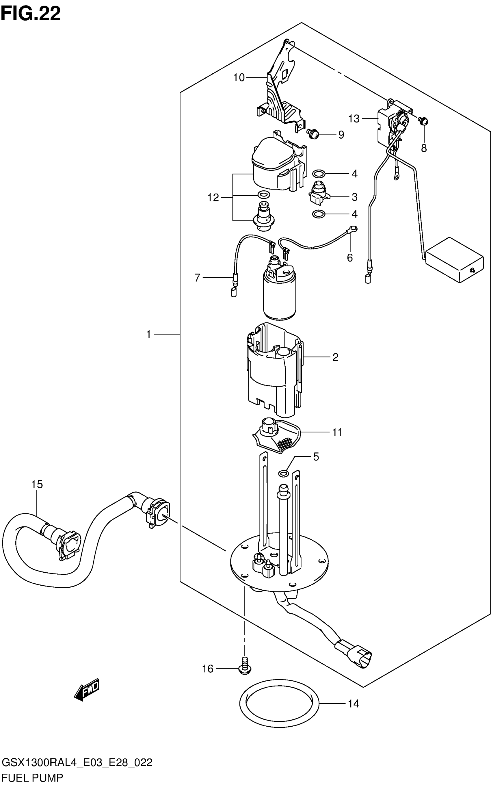
FUEL PUMP
Suzuki GSX1300RAL4 (2014) FUEL PUMP Diagram
#
Description
Price
6
WIRE, EARTH
15114-14J00
Unavailable
7
.WIRE,LEAD
15115-08J00
Unavailable
10
BRACKET, GAUGE
15181-15H10
Unavailable
