- Partiron
- OEM Parts
- Suzuki
- Motorcycle
- 2009
- GSX1300R (2009)
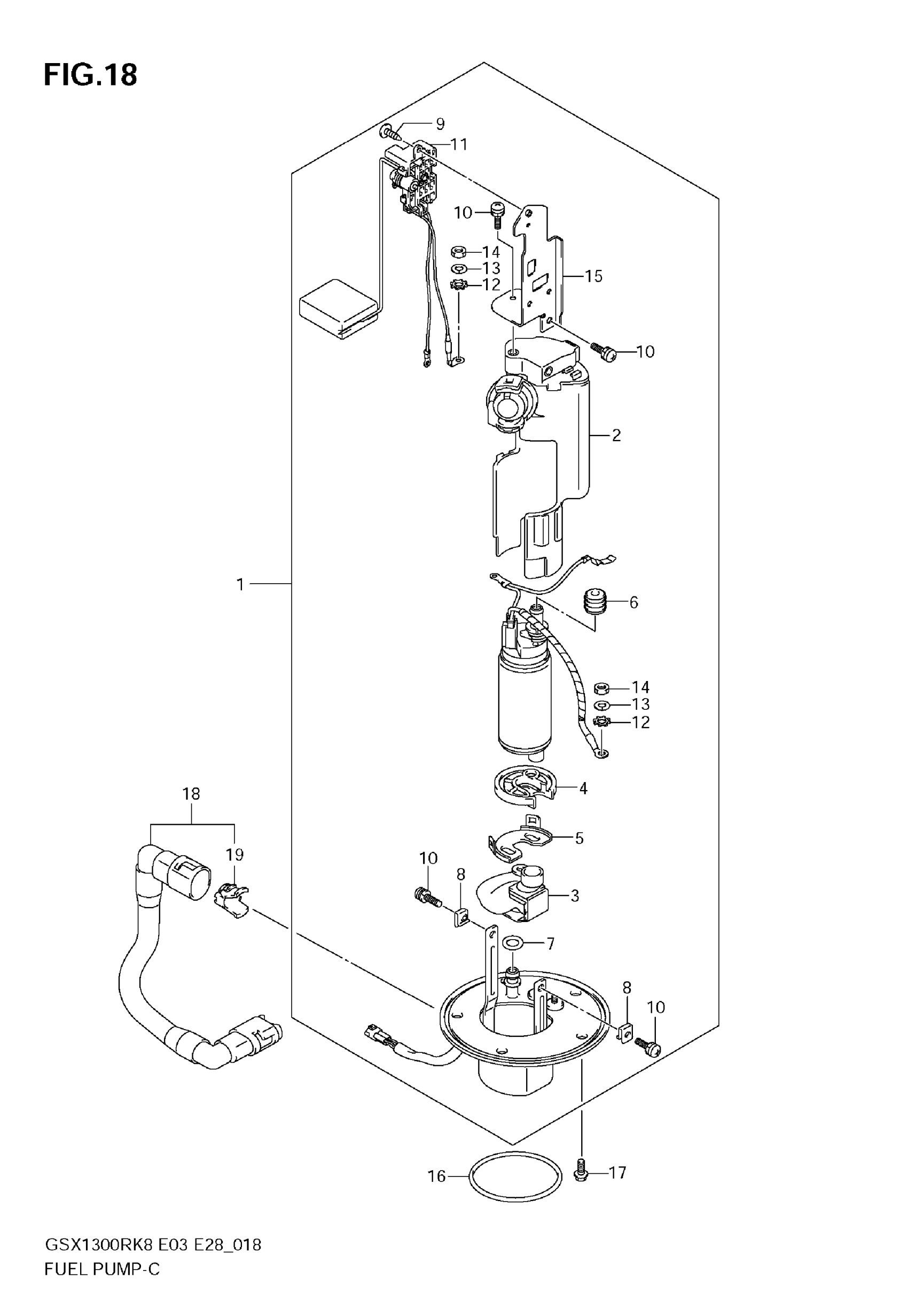
FUEL PUMP
Suzuki GSX1300R (2009) FUEL PUMP Diagram
#
Description
Price
14
NUT
15173-35F00
Unavailable
15
BRACKET, FUEL GAUGE
15181-15H00
Unavailable
