- Partiron
- OEM Parts
- Suzuki
- Motorcycle
- 2009
- GSX1300R (2009)
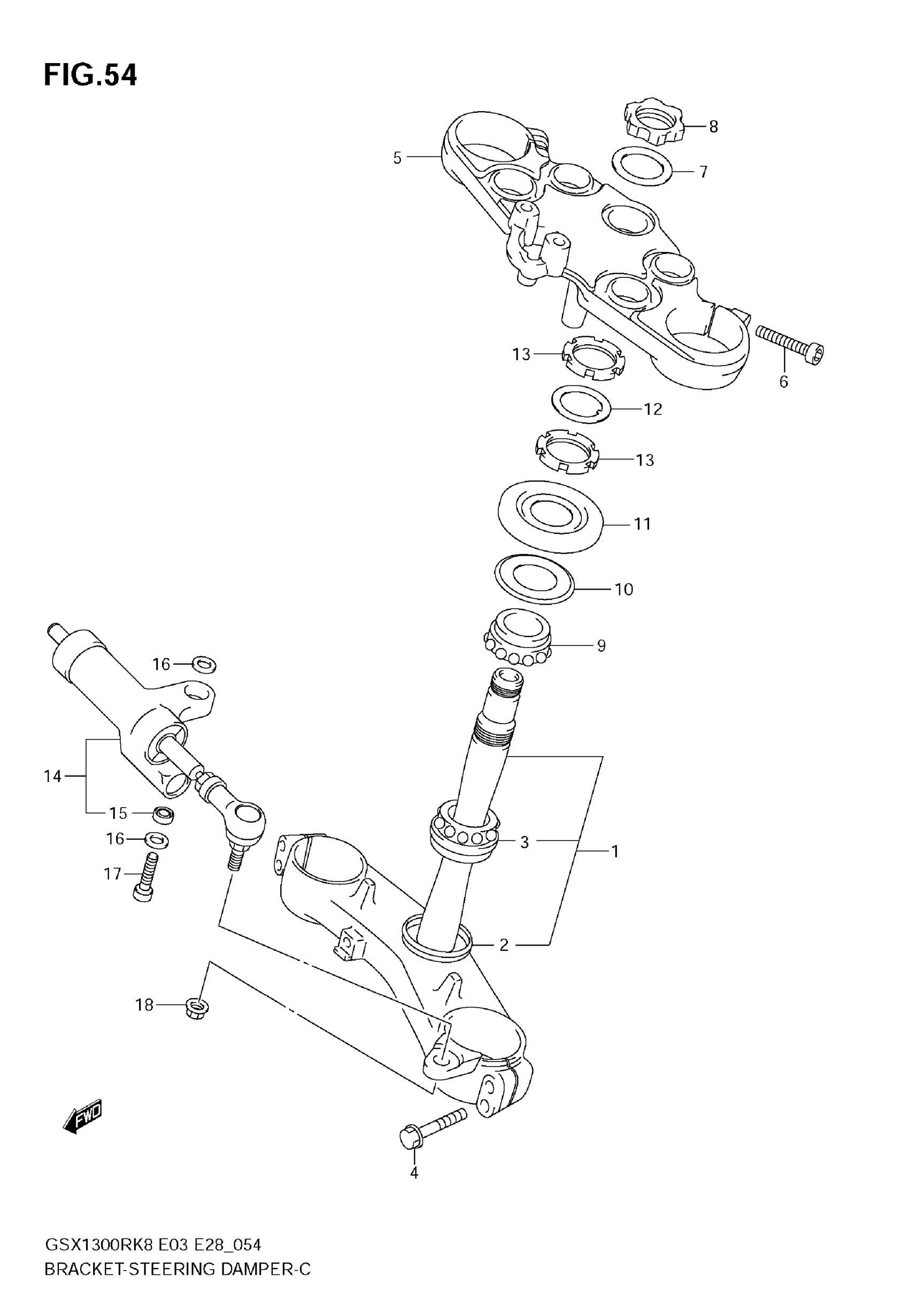
BRACKET - STEERING DAMPER
Suzuki GSX1300R (2009) BRACKET - STEERING DAMPER Diagram
#
Description
Price
4
BOLT,AXLE STOPPER (8X40) | MODEL K8
51166-01D80
Unavailable
