- Partiron
- OEM Parts
- Suzuki
- Motorcycle
- 2007
- GSX1300R (2007)
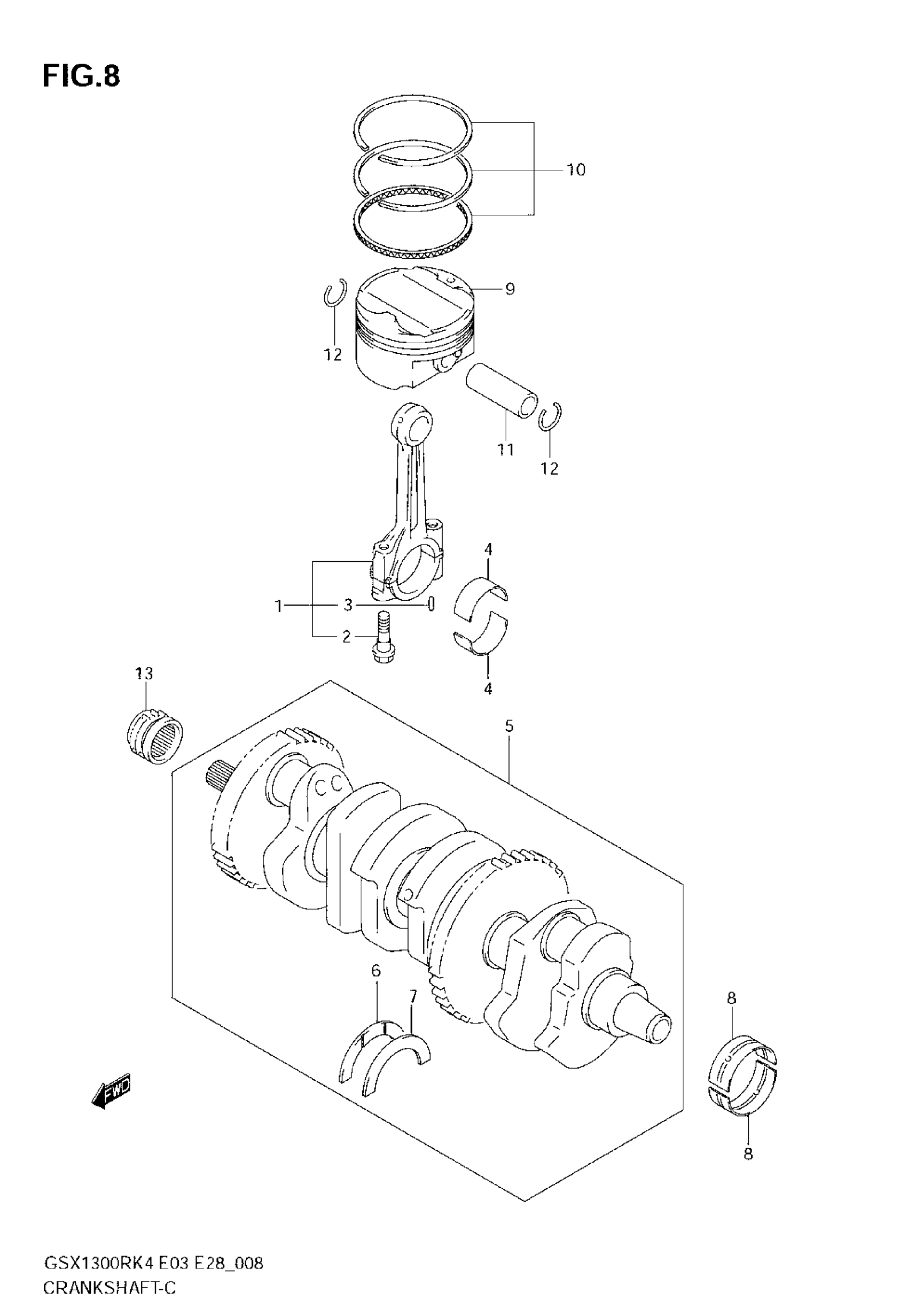
CRANKSHAFT
Suzuki GSX1300R (2007) CRANKSHAFT Diagram
#
Description
Price
5
CRANKSHAFT SET | MODEL K4
12000-24820
Unavailable
5
CRANKSHAFT SET | MODEL K5/K6/K7; Includes Item(s) 6 - 7
12000-24830
Unavailable
13
SPROCKET, CAM CHAIN | MODEL K4
12731-24F00
Unavailable
