- Partiron
- OEM Parts
- Suzuki
- Motorcycle
- 2007
- GSX1300R (2007)
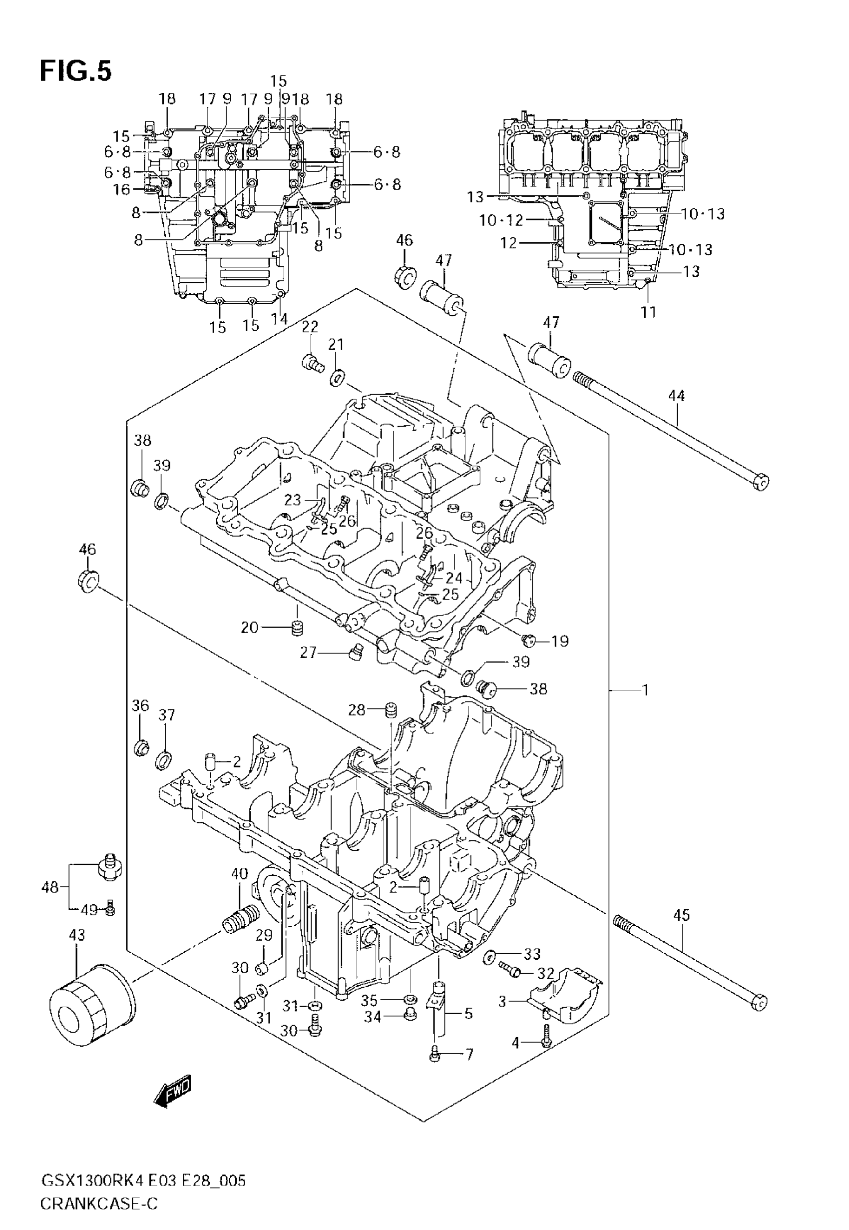
CRANKCASE
Suzuki GSX1300R (2007) CRANKCASE Diagram
#
Description
Price
1
CRANKCASE SET | MODEL K4/K5/K6 This part replaces 11302-24811.
11302-24813
Unavailable
1
CRANKCASE SET | MODEL K7; Includes Item(s) 2 - 42 This part replaces 11302-24812.
11302-24813
Unavailable
3
SEPARATOR, OIL
11323-24F00
Unavailable
17
BOLT (8X50)
09103-08155
Unavailable
48
SWITCH ASSY,OIL PRESSURE | Includes Item(s) 49 This part replaces 37820-33D10.
37820-33D11
$25.13
