- Partiron
- OEM Parts
- Suzuki
- Motorcycle
- 2009
- GSX1300BK (2009)
EVAP SYSTEM (E33)
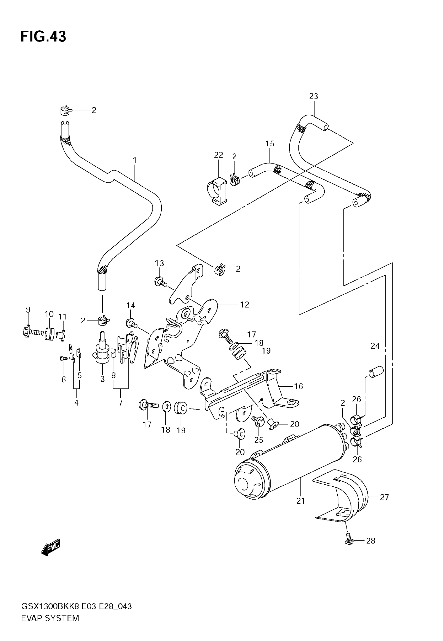
Suzuki GSX1300BK (2009) EVAP SYSTEM (E33) Diagram
#
Description
Price
1
HOSE, TANK & BREATHER VALVE
44434-23H00
Unavailable
7
BRACKET, BREATHER VALVE | Includes Item(s) 8
44910-23H00
Unavailable
12
BRACKET, EVAP SYSTEM | MODEL K8
44890-23H00
Unavailable
12
BRACKET, EVAP SYSTEM | MODEL K9
44890-23H10
Unavailable
15
HOSE, CANISTER
44435-23H00
Unavailable
16
BRACKET, CANISTER
44880-23H00
Unavailable
21
CANISTER
17200-38A10
Unavailable
22
CUSHION, 2 WAY VALVE
44884-10G00
Unavailable
23
HOSE, CANISTER PURGE
44436-23H00
Unavailable
