- Partiron
- OEM Parts
- Suzuki
- Motorcycle
- 2011
- GSX1250FAL1 (2011)
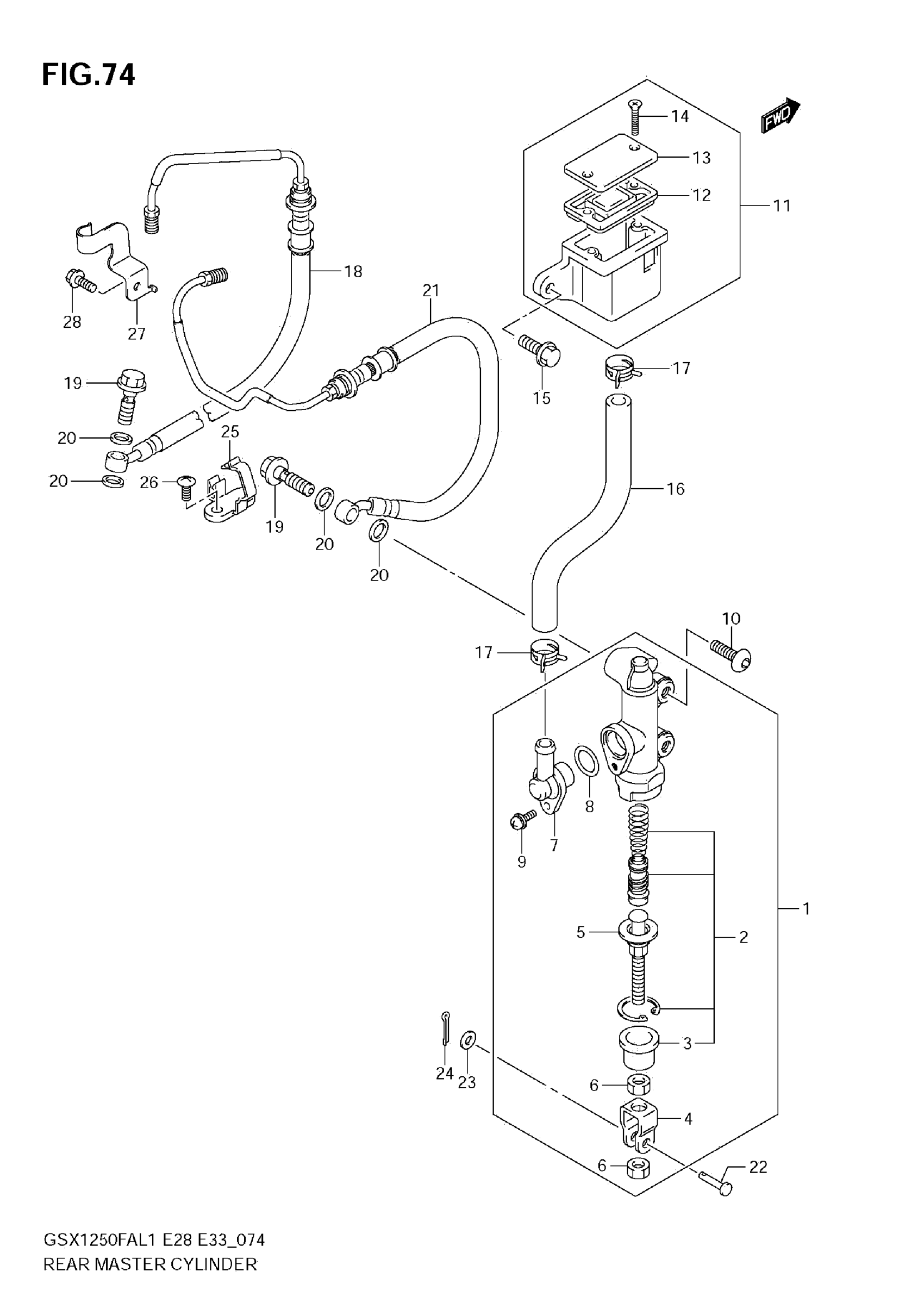
REAR MASTER CYLINDER
Suzuki GSX1250FAL1 (2011) REAR MASTER CYLINDER Diagram
#
Description
Price
25
GUIDE,RR BRAKE HOSE
61196-44H00
Unavailable
27
CLAMP, RR BRAKE HOSE NO.2
69266-38G00
Unavailable
