- Partiron
- OEM Parts
- Suzuki
- Motorcycle
- 2011
- GSX1250FAL1 (2011)
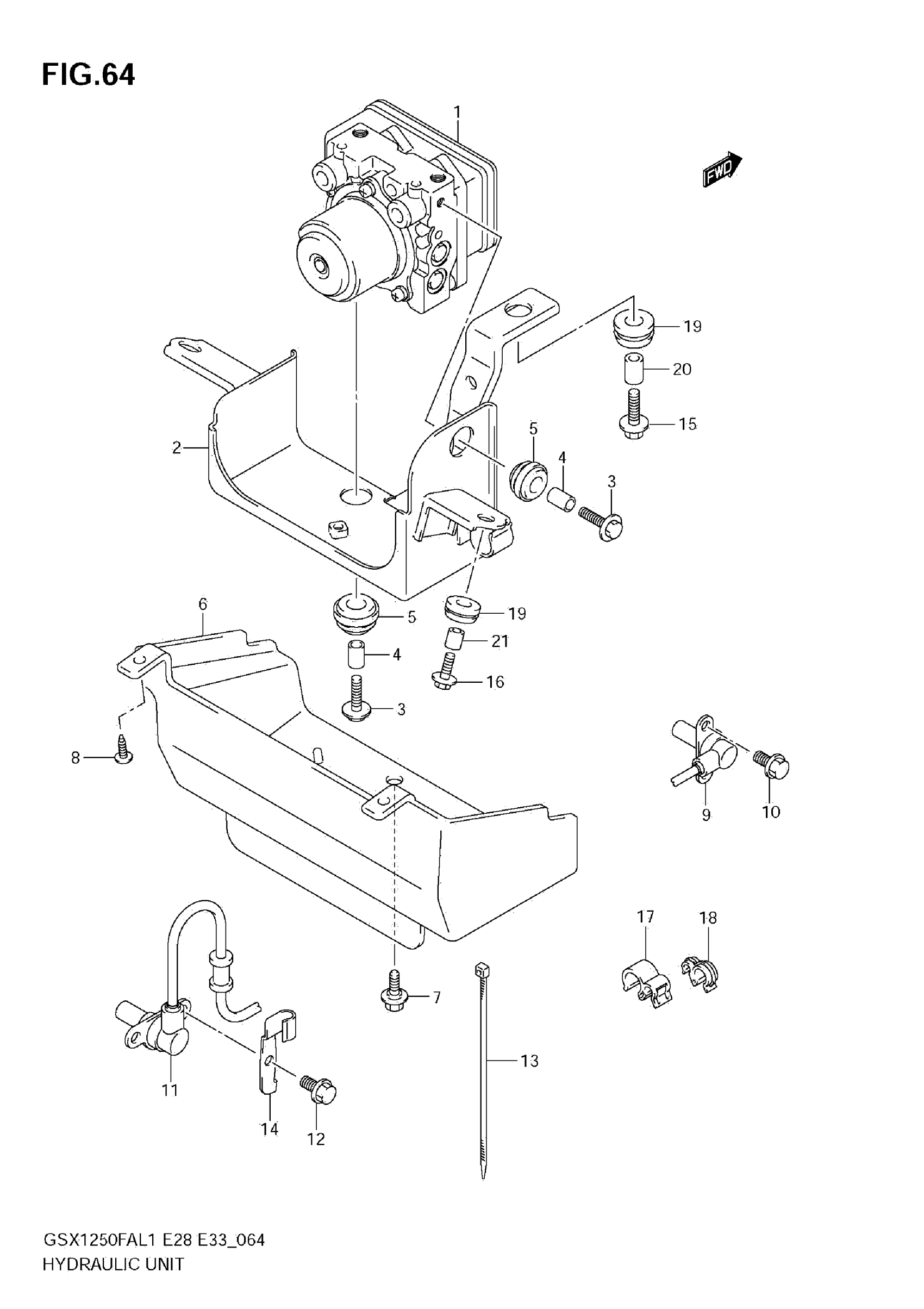
HYDRAULIC UNIT
Suzuki GSX1250FAL1 (2011) HYDRAULIC UNIT Diagram
#
Description
Price
2
HOLDER, HYDRAULIC UNIT ABS
55660-49G00
Unavailable
3
BOLT, UNIT MOUNTING
55661-10G00
Unavailable
4
SPACER
55662-10G00
Unavailable
5
RUBBER
55663-10G00
Unavailable
6
COVER, HYDRAULIC UNIT
55667-38G01
Unavailable
9
SENSOR, FR WHEEL ABS
55710-49G01
Unavailable
11
SENSOR, RR WHEEL ABS
65710-38G00
Unavailable
14
CLAMP, ABS SENSOR REAR
65731-38G00
Unavailable
18
CLAMP
09408-00242
Unavailable
21
SPACER (6.5X9X11.5)
09180-06266
Unavailable
