- Partiron
- OEM Parts
- Suzuki
- Motorcycle
- 2011
- GSX1250FAL1 (2011)
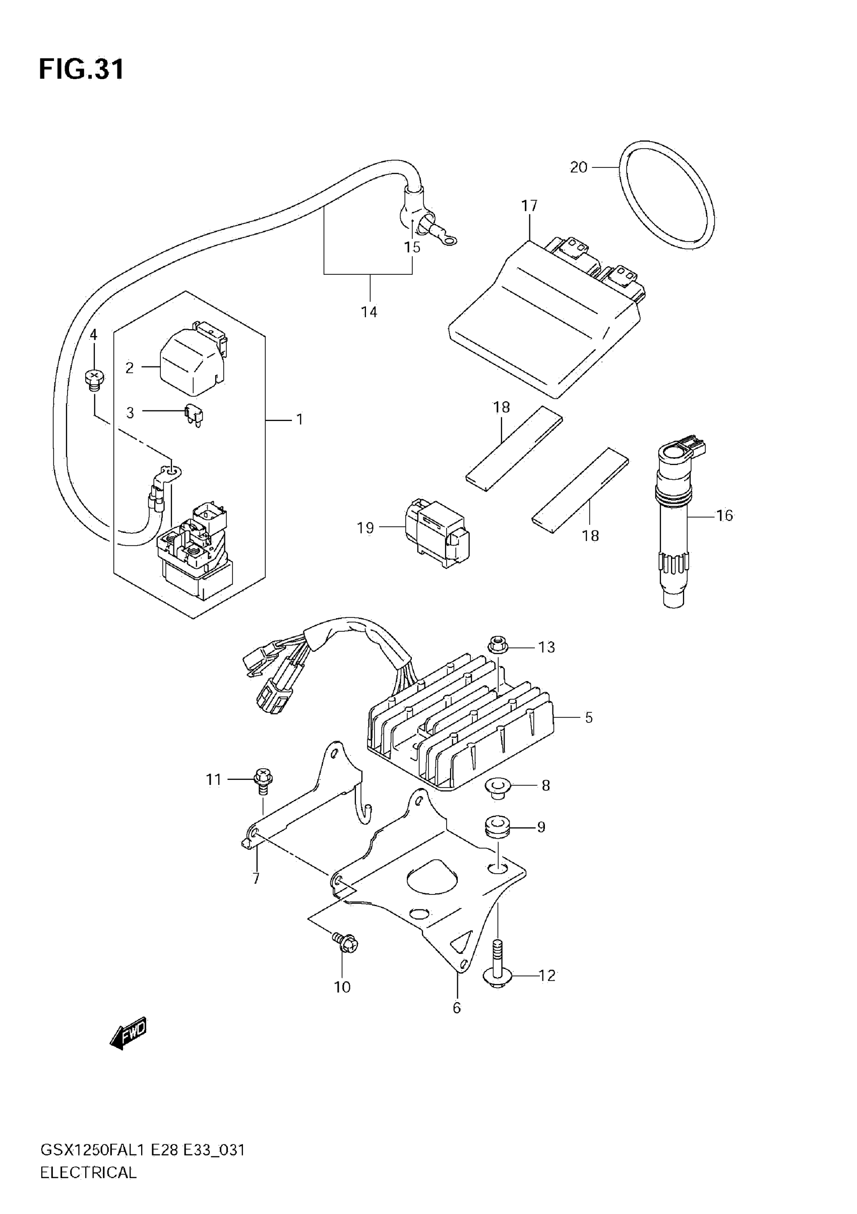
ELECTRICAL (E33)
Suzuki GSX1250FAL1 (2011) ELECTRICAL (E33) Diagram
#
Description
Price
6
BRACKET, RECTIFIER NO.1
32830-18H10
Unavailable
7
BRACKET, RECTIFIER NO.2
32830-18H20
Unavailable
14
WIRE, STARTER MOTOR LEAD
33810-18H00
Unavailable
17
CONTROL UNIT, FI
32920-18H70
Unavailable
