- Partiron
- OEM Parts
- Suzuki
- Motorcycle
- 1993
- GSX1100G (1993)
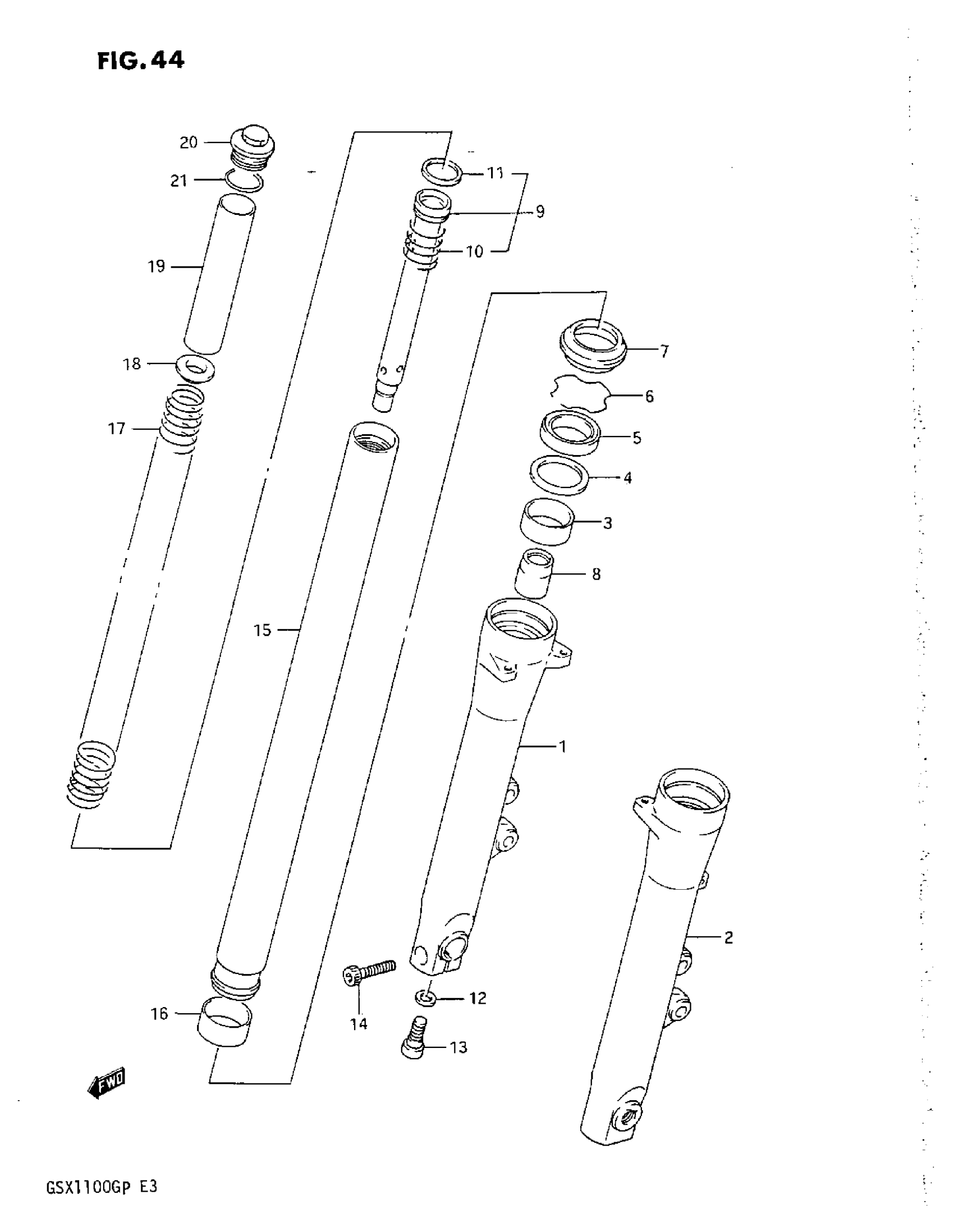
FRONT DAMPER
Suzuki GSX1100G (1993) FRONT DAMPER Diagram
#
Description
Price
1
DAMPER ASSY, RH | MODEL M
51103-26D10
Unavailable
1
DAMPER ASSY, RH | MODEL N/P
51103-26D50
Unavailable
1
DAMPER ASSY, LH | MODEL M
51104-26D10
Unavailable
1
DAMPER ASSY, LH | MODEL N/P
51104-26D50
Unavailable
1
TUBE, OUTER RH
51130-26D00
Unavailable
2
TUBE, OUTER LH
51140-26D00
Unavailable
9
CYLINDER | MODEL M This part replaces 51146-26D10.
51146-26D00
Unavailable
9
CYLINDER | MODEL N/P
51146-26D00
Unavailable
10
SPRING, REBOUND
51177-26D00
Unavailable
13
BOLT
51147-14200
Unavailable
15
TUBE, INNER
51110-26D10
Unavailable
17
SPRING, MAIN | MODEL M This part replaces 51171-26D10.
51171-26D00
Unavailable
17
SPRING, MAIN | MODEL N/P
51171-26D00
Unavailable
18
GUIDE, SPRING
51172-26D00
Unavailable
19
SPACER | MODEL M
51176-26D10
Unavailable
19
SPACER | MODEL N/P
51176-26D50
Unavailable
