- Partiron
- OEM Parts
- Suzuki
- Motorcycle
- 1993
- GSX1100FP (1993)
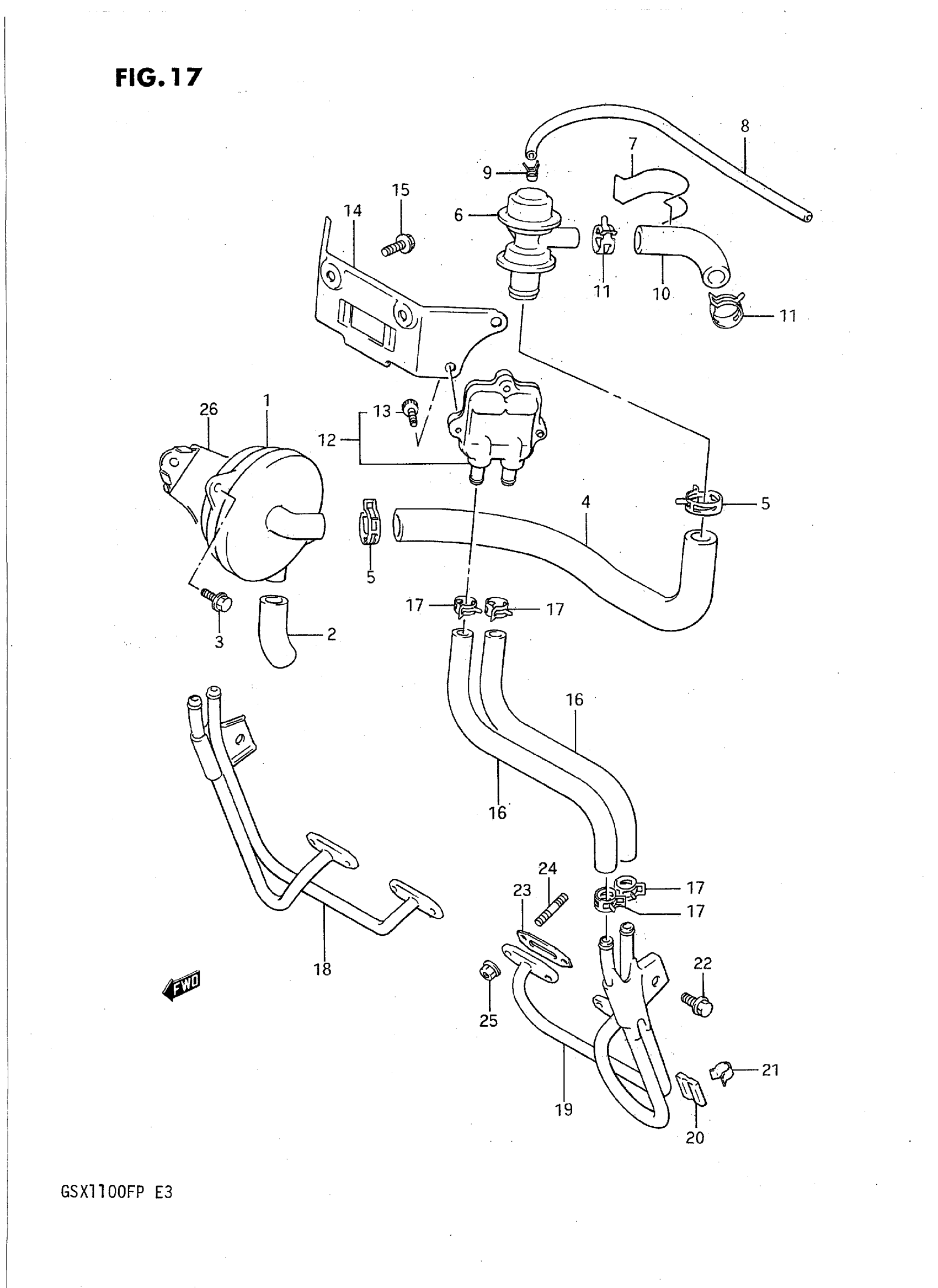
SECOND AIR (CALIFORNIA ONLY)
Suzuki GSX1100FP (1993) SECOND AIR (CALIFORNIA ONLY) Diagram
#
Description
Price
1
CLEANER ASSY, 2ND AIR | MODEL J/K/L/M/N This part replaces 18700-48B02.
18700-17C03
Unavailable
1
CLEANER ASSY, 2ND AIR | MODEL P This part replaces 18700-48B03.
18700-17C03
Unavailable
2
HOSE, INLET
18731-48B00
Unavailable
4
HOSE, 2ND AIR, NO.3
18551-48B00
Unavailable
5
CLIP
09401-25402
Unavailable
6
VALVE ASSY, AIR SWITCHING | MODEL J/K/L/M/N This part replaces 18510-48B00.
18510-20C00
Unavailable
6
VALVE ASSY, AIR SWITCING | MODEL P
18510-20C00
Unavailable
7
CLAMP, SWITCING VALVE
18522-17C00
Unavailable
8
HOSE, 2ND AIR VALVE VACUUM | L:300->230 This part replaces 09359-45852-300.
09359-45852-600
Unavailable
9
CLIP
09401-07401
Unavailable
10
HOSE, 2ND AIR, NO.2
18481-48B00
Unavailable
11
CLIP
09401-21401
Unavailable
12
VALVE ASSY, 2ND AIR REED | Includes Item(s) 13
18450-48B00
Unavailable
14
BRACKET, REED VALVE
18521-48B00
Unavailable
16
HOSE, 2ND AIR, NO.1
18445-48B00
Unavailable
18
PIPE, 2ND AIR, RH
18401-48B01
Unavailable
19
PIPE, 2ND AIR, LH | Includes Item(s) 20 - 21
18402-48B01
Unavailable
20
CUSHION
18428-48B00
Unavailable
21
CLIP
18429-17C00
Unavailable
26
HOLDER, 2ND AIR CLEANER | JS1GV72A N2100778~MODEL P
18761-41C00
Unavailable
