- Partiron
- OEM Parts
- Suzuki
- Motorcycle
- 2022
- GSX-S750AM2 (2022)
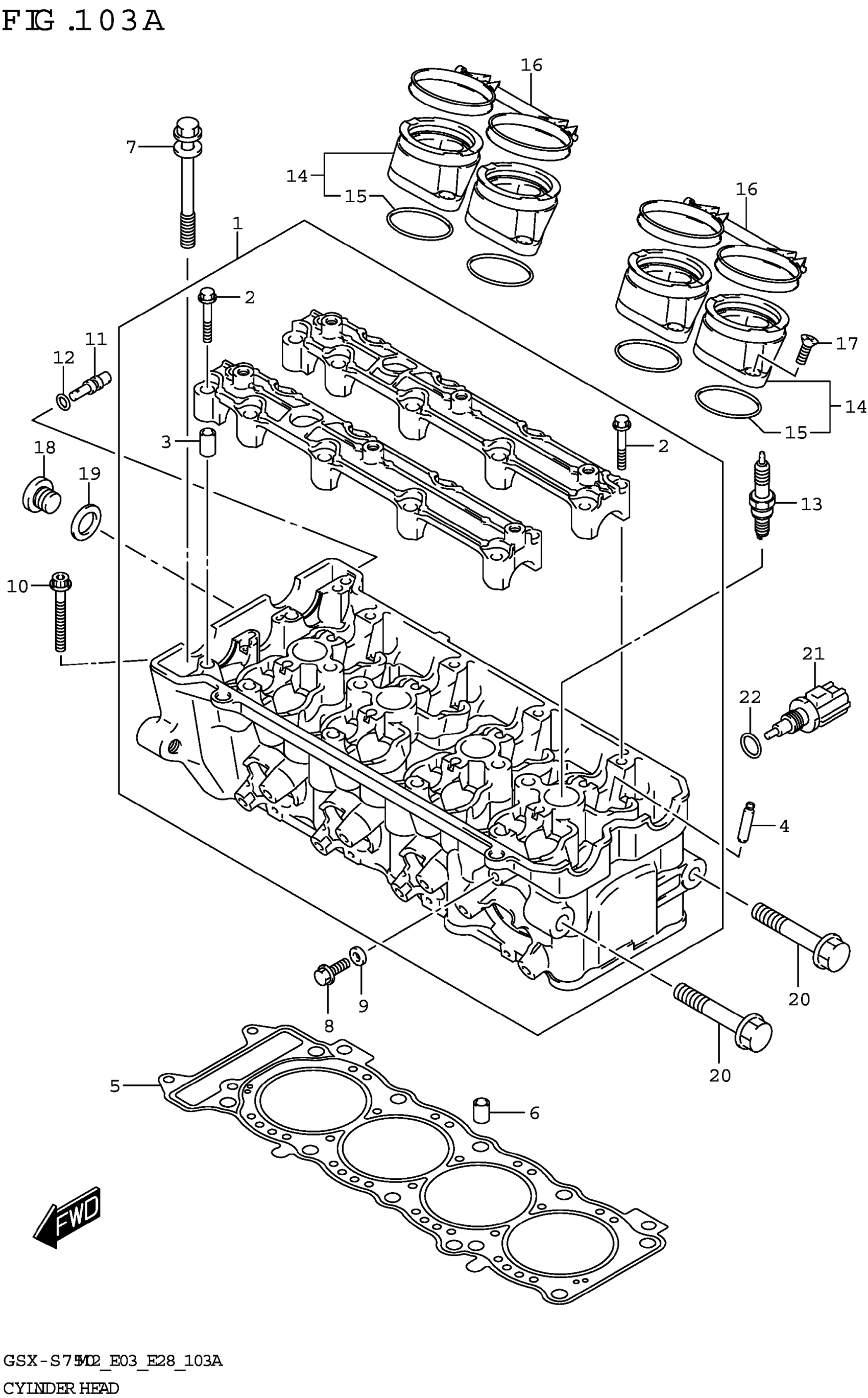
CYLINDER HEAD
Suzuki GSX-S750AM2 (2022) CYLINDER HEAD Diagram
#
Description
Price
1
HEAD ASSY, CYLINDER
11100-13K00
Unavailable
14
PIPE ASSY,INTAKE
13101-08J01
Unavailable
