- Partiron
- OEM Parts
- Suzuki
- Motorcycle
- 2018
- GSX-S750AL8 (2018)
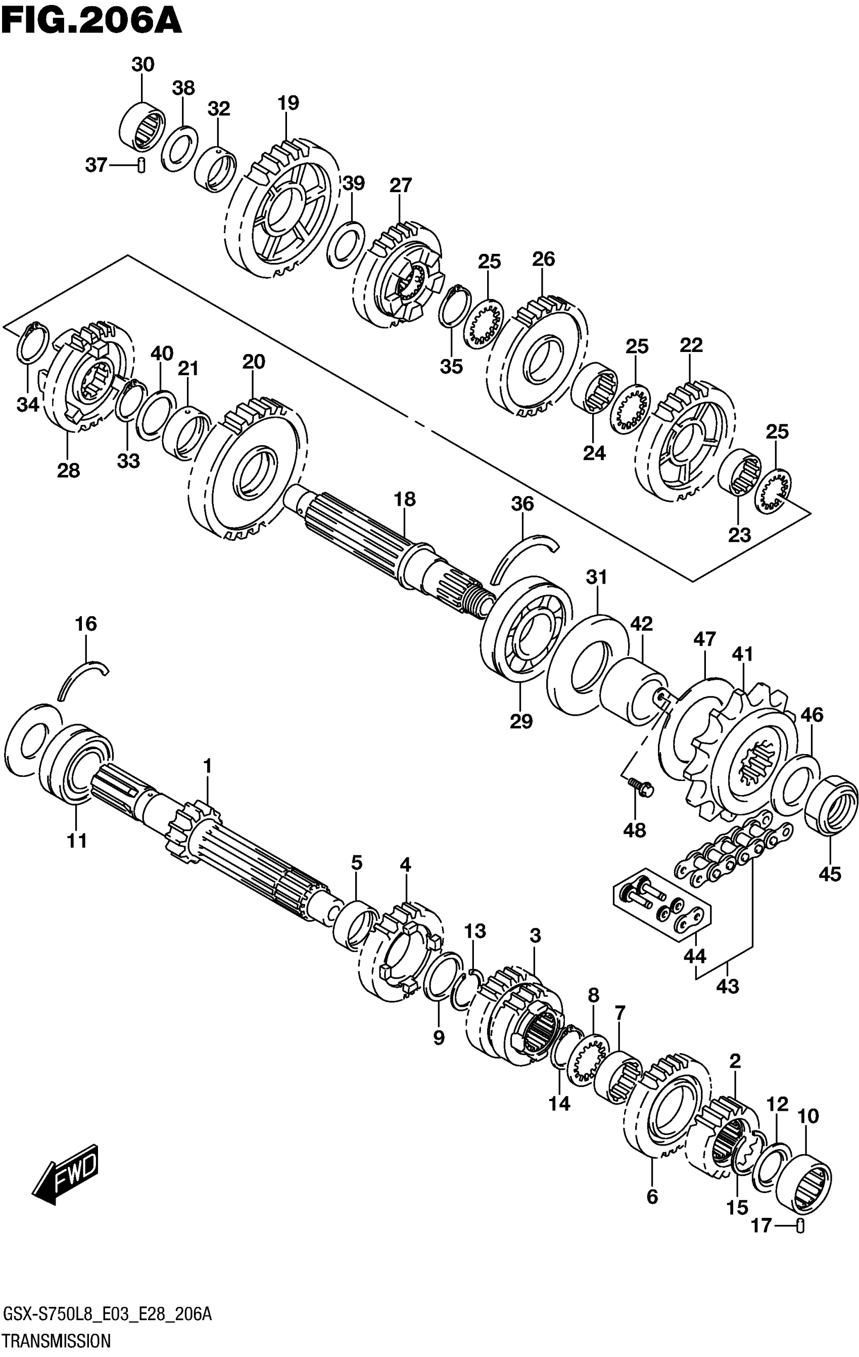
TRANSMISSION
Suzuki GSX-S750AL8 (2018) TRANSMISSION Diagram
#
Description
Price
1
SHAFT, COUNTER (NT:14)
24120-35F30
Unavailable
18
SHAFT, DRIVE
24131-35F30
Unavailable
28
GEAR, 6TH DRIVEN (NT:31)
24361-35F30
Unavailable
