- Partiron
- OEM Parts
- Suzuki
- Motorcycle
- 2023
- GSX-S75032 (2023)
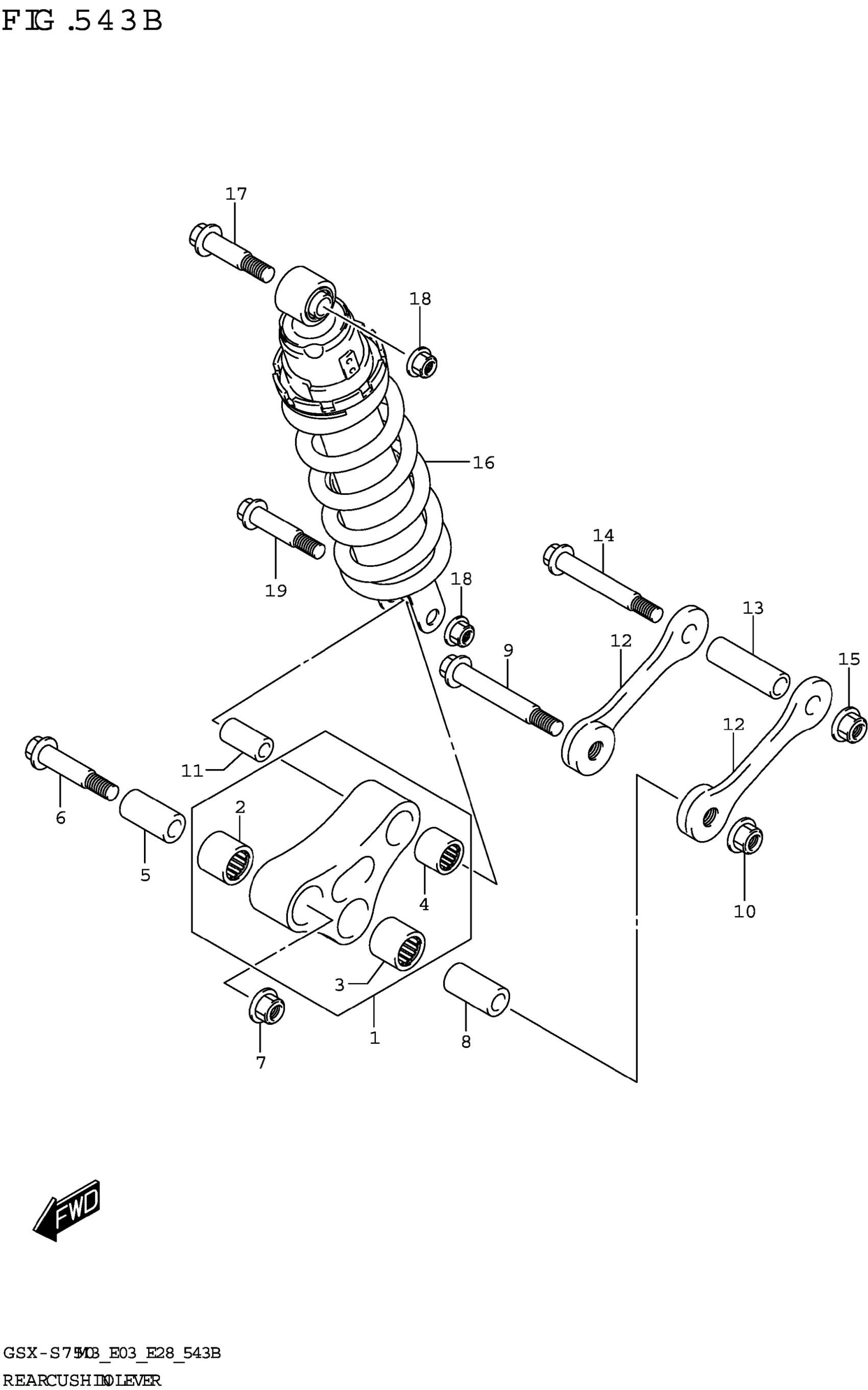
REAR CUSHION LEVER
Suzuki GSX-S75032 (2023) REAR CUSHION LEVER Diagram
#
Description
Price
12
ROD,RR CUSHION
62640-08J00
Unavailable
REAR CUSHION LEVER
#
12
62640-08J00
Unavailable
Edit ride
