Partiron

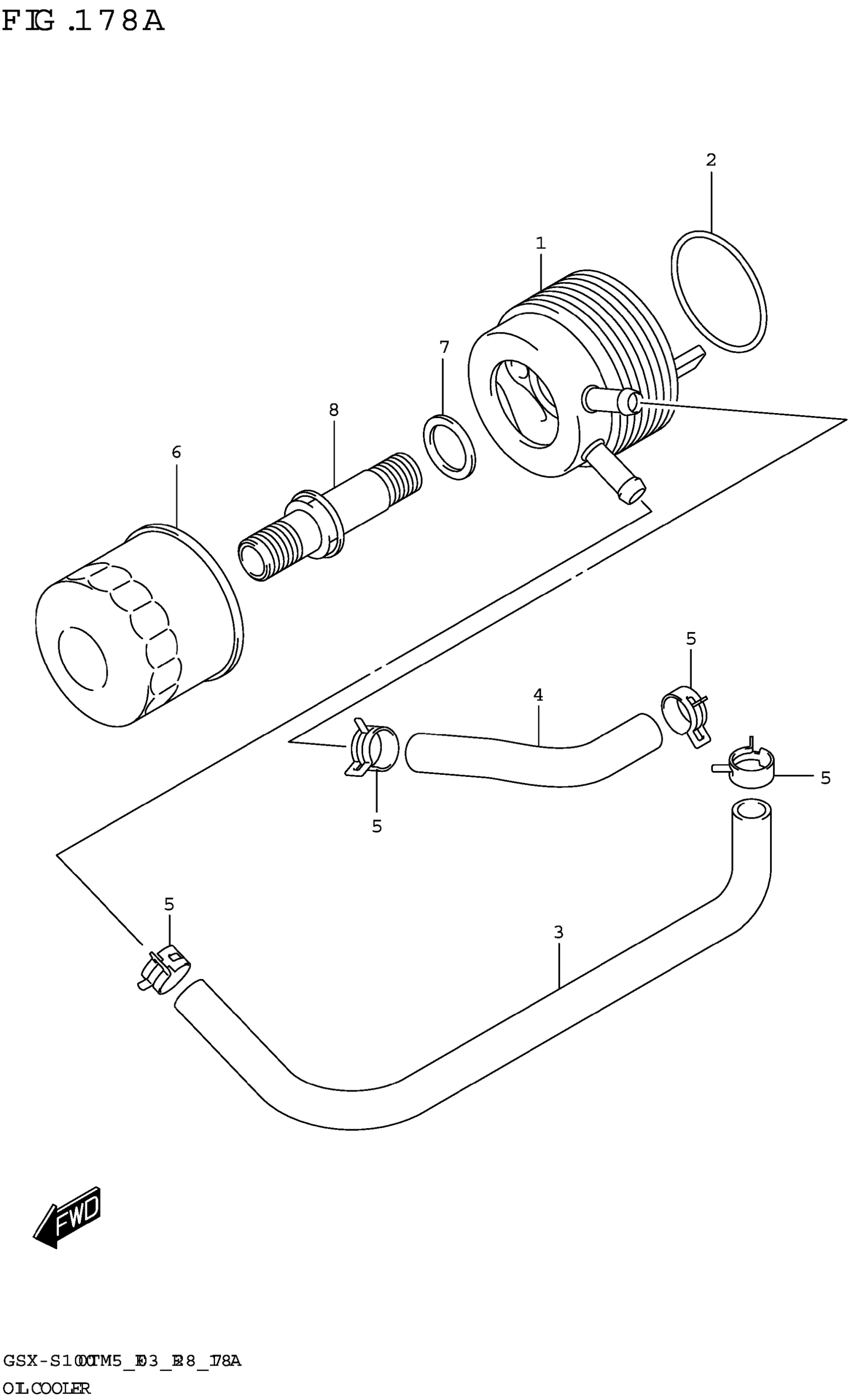
Suzuki GSX-S1000TRQM5(E03) (2025) OIL COOLER Diagram

#

Description
Price

1

COOLER ASSY, OIL

16600-04K00

$547.15

2

.O-RING,OIL COOLER

16611-48K00

$3.95

3

HOSE, OIL COOLER WATER INLET

16461-04K00

$22.45

4

HOSE, OIL COOLER WATER OUTLET

16471-04K00

Unavailable

5

CLIP (ID:16.5)

09401-16407

$2.44

6

FILTER ASSY,ENGINE OIL (P1.0)

16510-07J00

$13.10

7

SHIM (21X31X0.8)

09181-21002

$2.93

8

BOLT, OIL COOLER UNION

16591-04K00

$31.12