- Partiron
- OEM Parts
- Suzuki
- Motorcycle
- 2023
- GSX-S1000TRQM3 (2023)
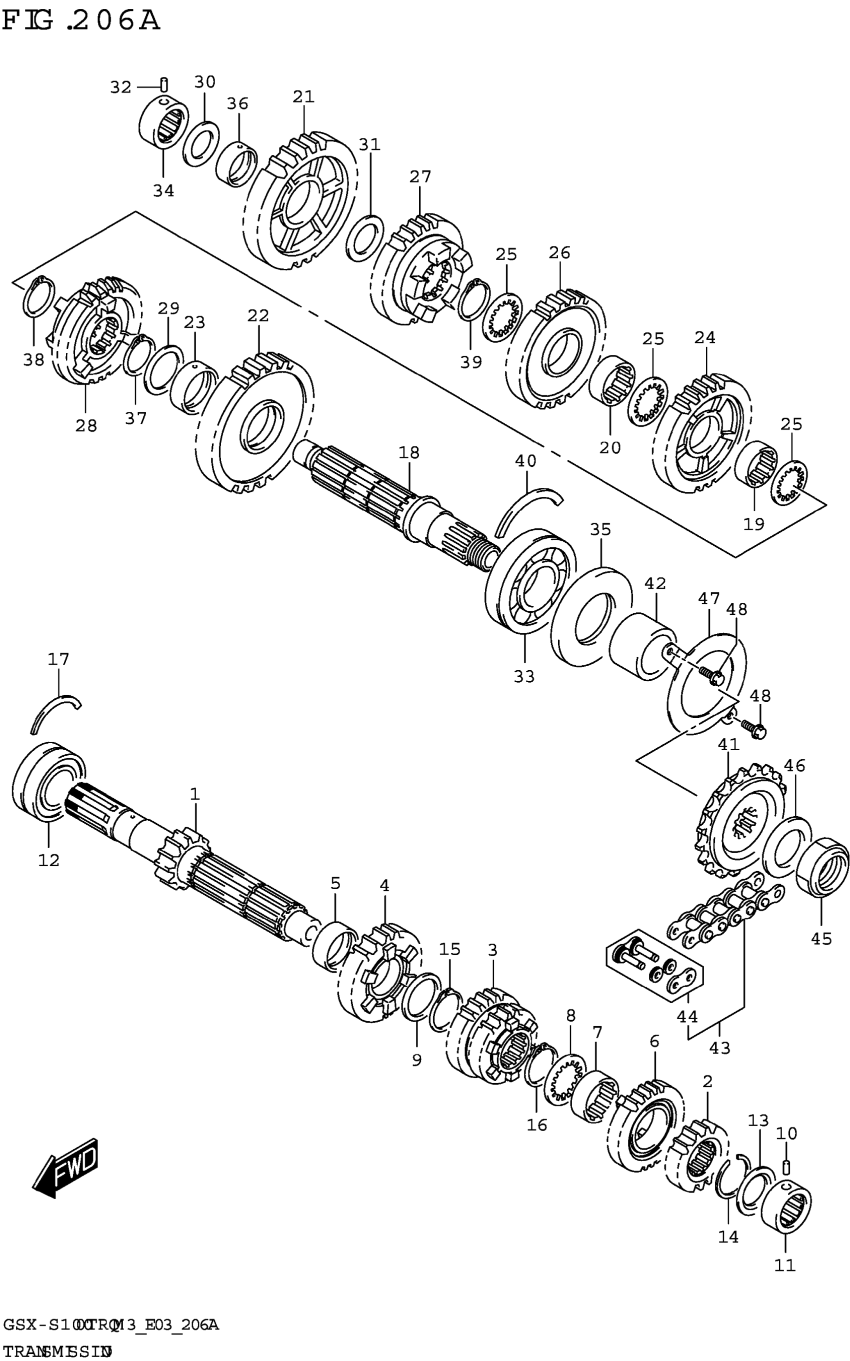
TRANSMISSION
Suzuki GSX-S1000TRQM3 (2023) TRANSMISSION Diagram
#
Description
Price
1
SHAFT, CNTR (NT:16)
24120-40F40
Unavailable
4
GEAR, 5TH DRIVE (NT:25)
24251-40F50
Unavailable
6
GEAR, 6TH DRIVE (NT:26)
24261-40F40
Unavailable
