Partiron

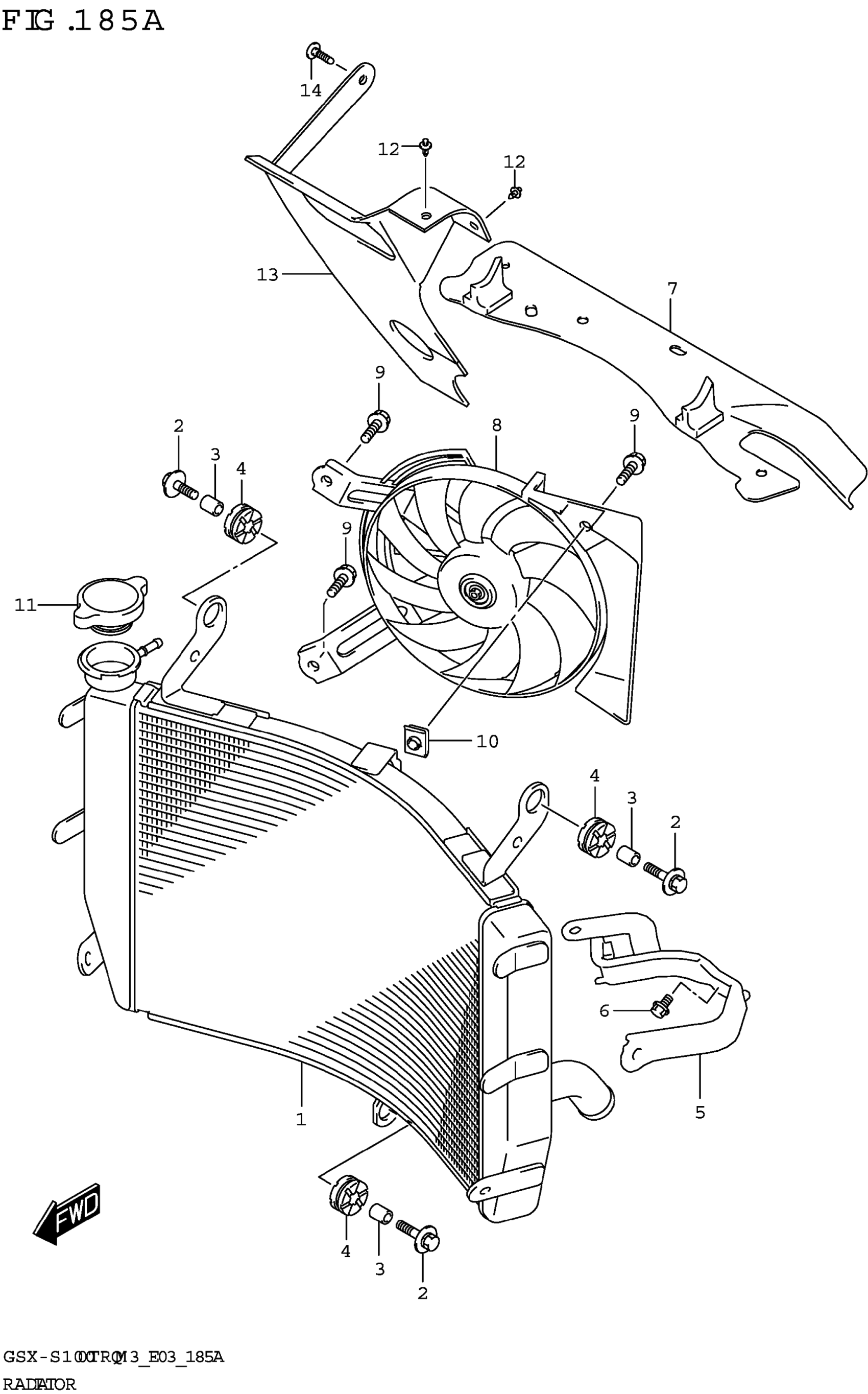
Suzuki GSX-S1000TRQM3 (2023) RADIATOR Diagram

#

Description
Price

1

RADIATOR, WATER

17710-48K00

$347.45

2

BOLT (6X25)

09118-06097

$2.50

3

SPACER (6.5X10X12)

09180-06290

$2.35

4

CUSHION

09320-10051

$2.99

5

BRACKET, RADIATOR LOWER

17760-07L00

$46.60

6

BOLT

01550-0612A

$1.97

7

SHIELD, RADIATOR HEAT

17771-48K00

$49.22

8

FAN ASSY, RADIATOR

17800-48K00

$450.78

9

BOLT,FAN ASSY

17711-14G00

$4.10

10

NUT,RADIATOR FAN

17802-14F00

$3.38

11

CAP,RADIATOR (1.1)

17730-14G00

$42.83

12

CLIP This part replaces 09409-06314.

09409-06314-5PK

$2.78

13

SHIELD, RDTR HEAT RH

17772-48K00

$29.48

14

CLIP

09409-06315

$1.57