- Partiron
- OEM Parts
- Suzuki
- Motorcycle
- 2022
- GSX-S1000SRQM2 (2022)
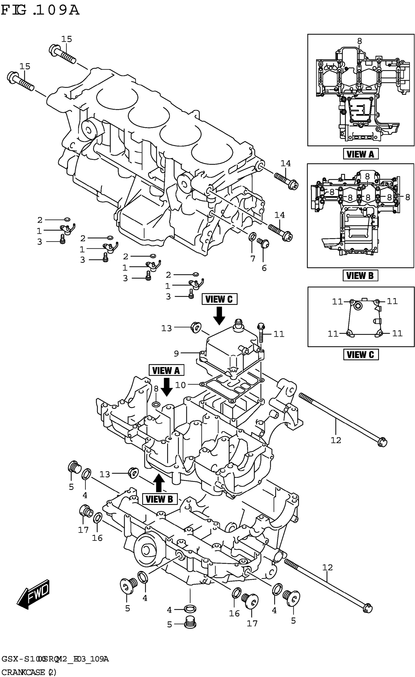
CRANKCASE (2)
Suzuki GSX-S1000SRQM2 (2022) CRANKCASE (2) Diagram
#
Description
Price
9
COVER, BREATHER
11370-04K00
Unavailable
CRANKCASE (2)
#
9
11370-04K00
Unavailable
Edit ride
