- Partiron
- OEM Parts
- Suzuki
- Motorcycle
- 2024
- GSX-S1000RQM4 (2024)
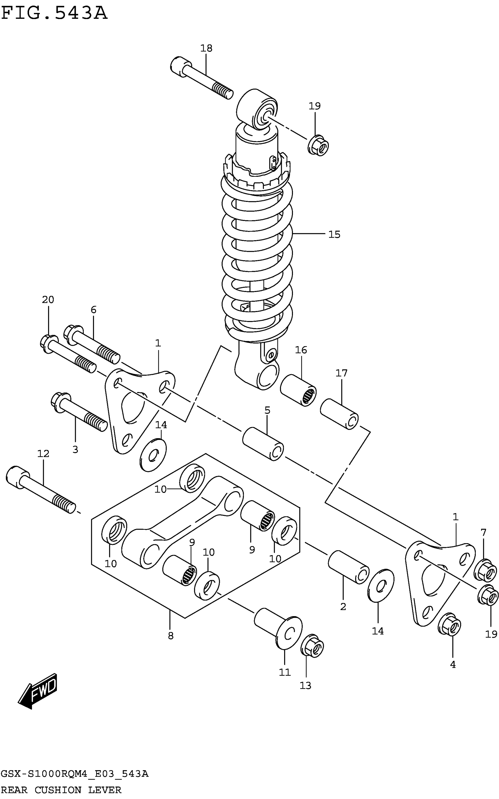
REAR CUSHION LEVER
Suzuki GSX-S1000RQM4 (2024) REAR CUSHION LEVER Diagram
#
Description
Price
9
.BEARING (20X27X20)
09263-20063
Unavailable
