- Partiron
- OEM Parts
- Suzuki
- Motorcycle
- 2023
- GSX-S1000RQM3 (2023)
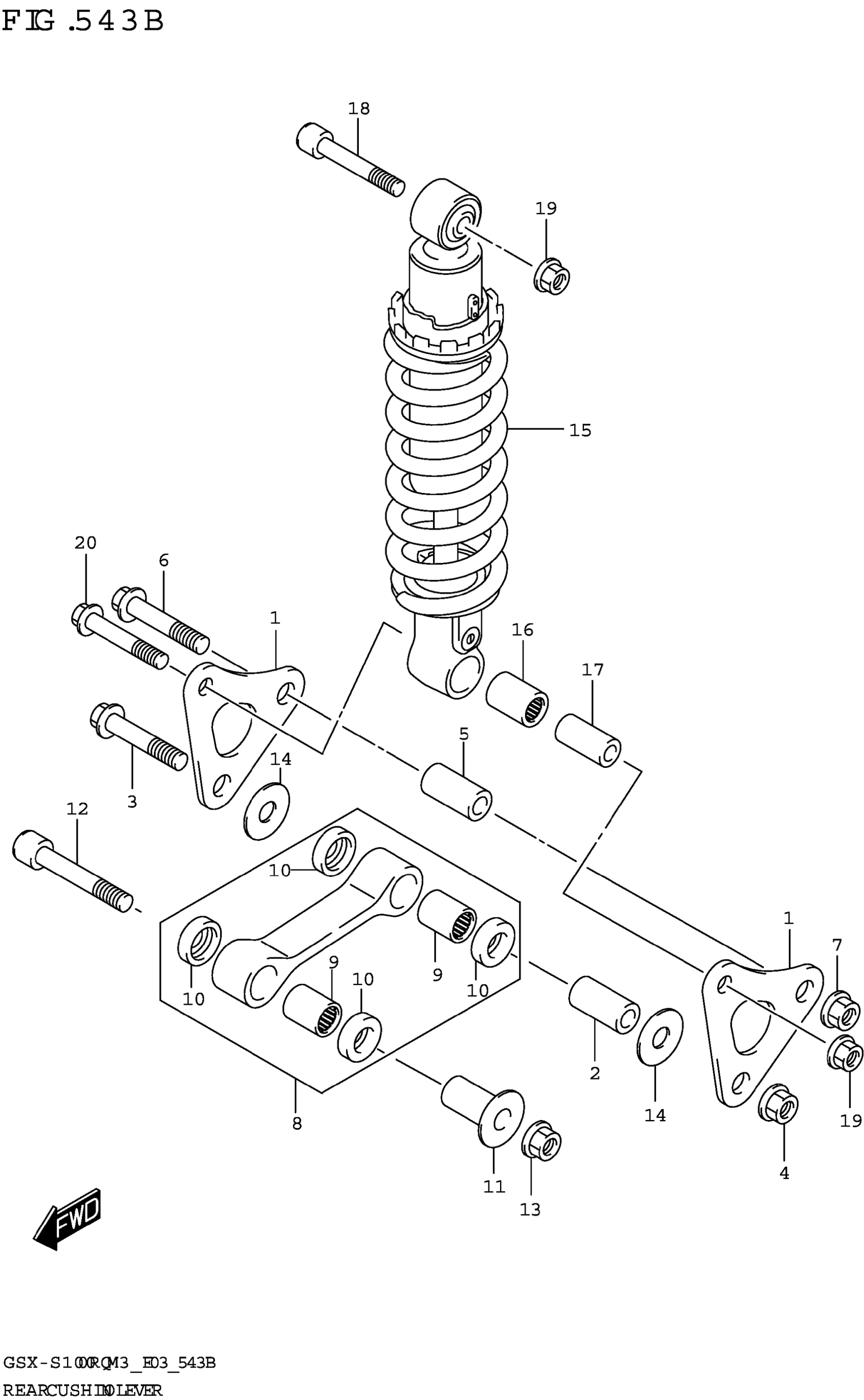
REAR CUSHION LEVER
Suzuki GSX-S1000RQM3 (2023) REAR CUSHION LEVER Diagram
#
Description
Price
9
.BEARING (20X27X20)
09263-20063
Unavailable
