- Partiron
- OEM Parts
- Suzuki
- Motorcycle
- 2020
- GSX-S1000AM0 (2020)
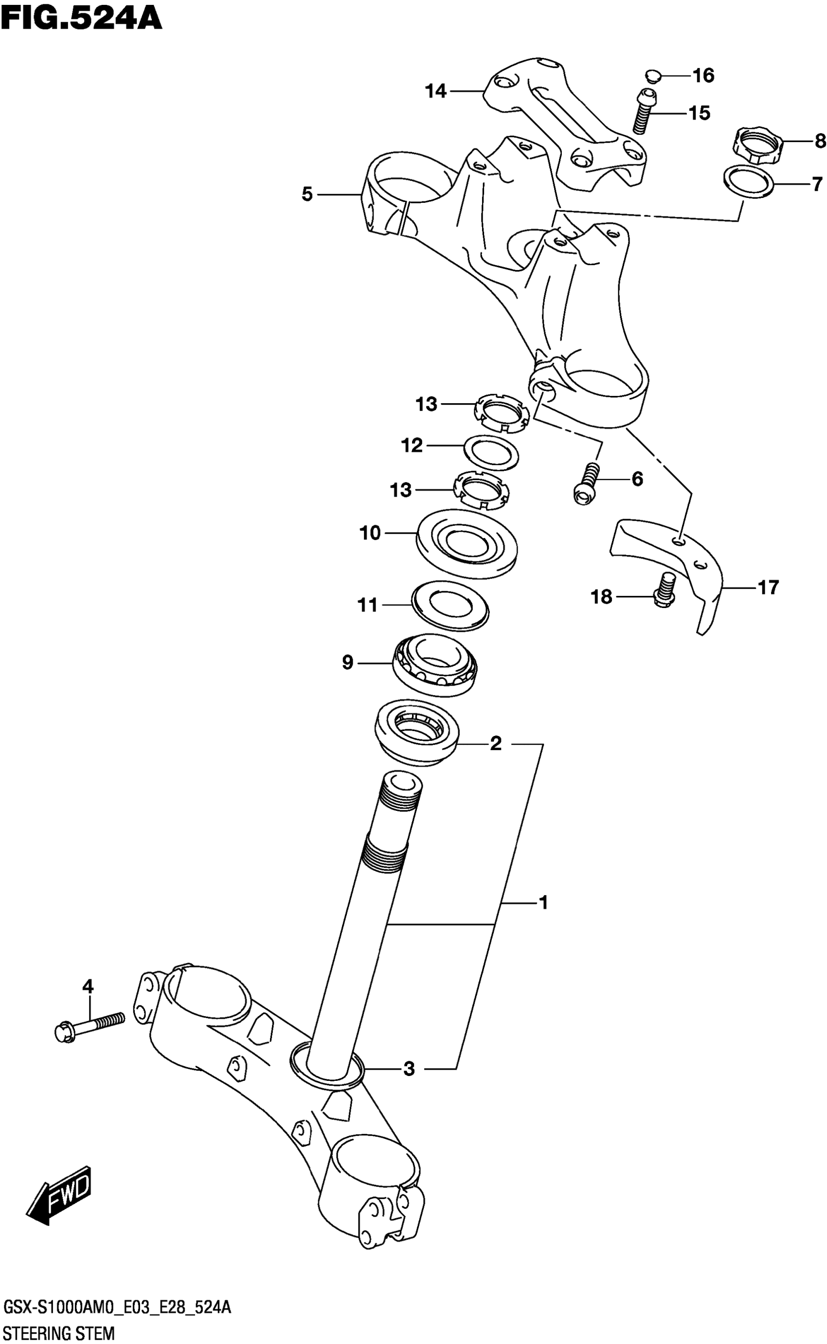
STEERING STEM
Suzuki GSX-S1000AM0 (2020) STEERING STEM Diagram
#
Description
Price
1
BRACKET,UNDER (BLACK)
51410-04K40-YTA
Unavailable
