- Partiron
- OEM Parts
- Suzuki
- Motorcycle
- 2020
- GSX-S1000AM0 (2020)
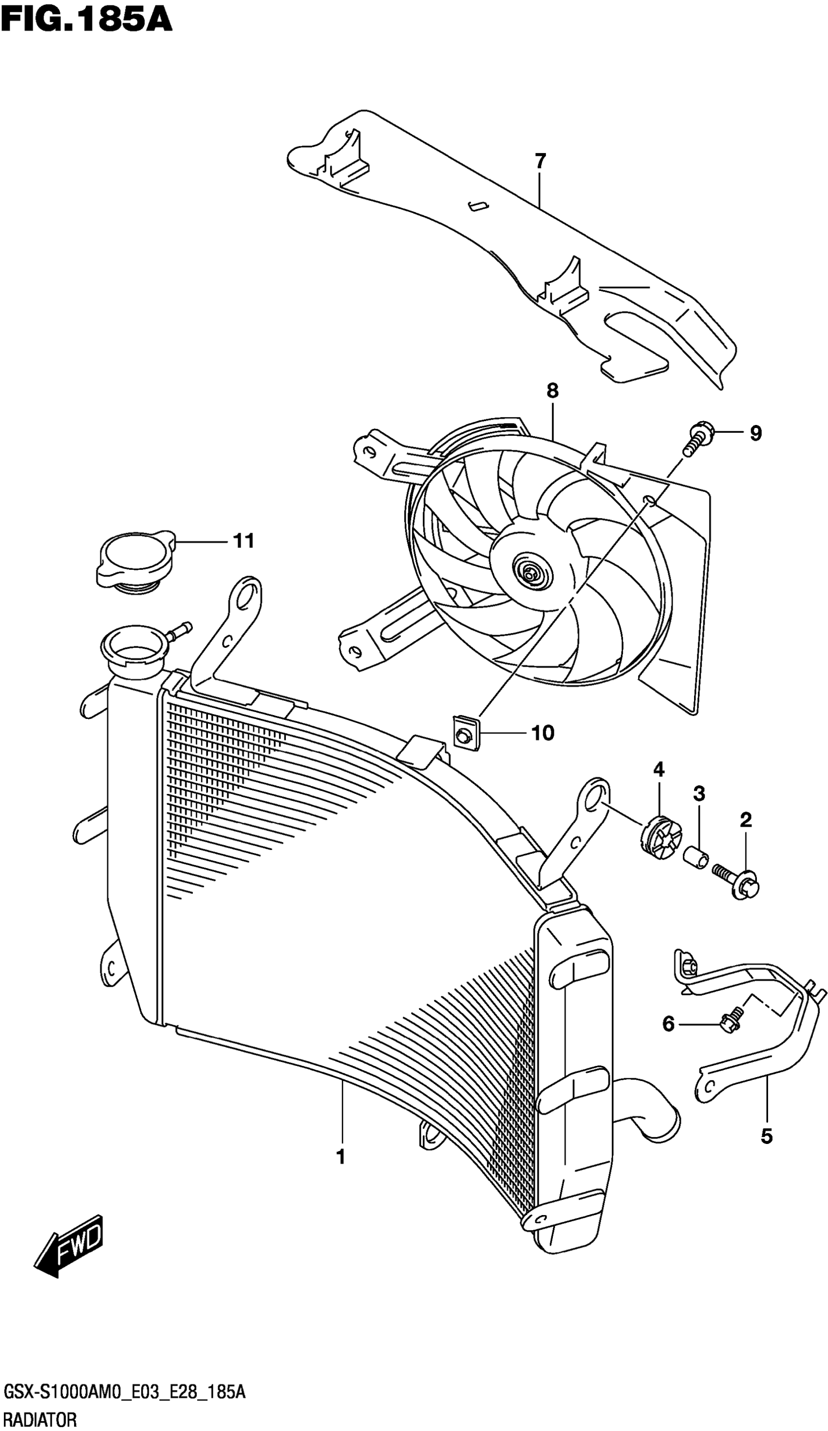
RADIATOR
Suzuki GSX-S1000AM0 (2020) RADIATOR Diagram
#
Description
Price
7
SHIELD,RADIATOR HEAT
17771-04K00
Unavailable
RADIATOR
#
7
17771-04K00
Unavailable
Edit ride
