- Partiron
- OEM Parts
- Suzuki
- Motorcycle
- 1999
- GSX-R750X (1999)
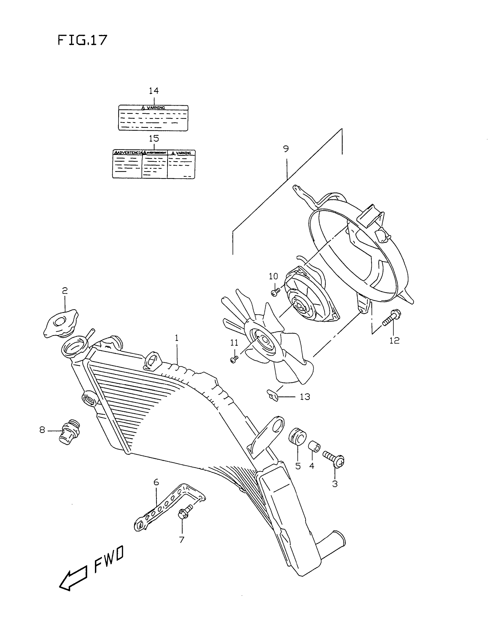
RADIATOR (MODEL T/V)
Suzuki GSX-R750X (1999) RADIATOR (MODEL T/V) Diagram
#
Description
Price
1
RADIATOR ASSY, WATER
17710-33E00
Unavailable
6
BRACKET, RADIATOR LOWER
17750-33E00
Unavailable
9
NO DESCRIPTION AVAILABLE | Includes Item(s) 10 - 11 This part replaces 17800-33E00.
17800-33E10
Unavailable
14
LABEL, COOLING FAN
17991-60B11
Unavailable
15
LABEL,ENG COOLN | E28 This part replaces 17991-60B02.
11958-65G11
Unavailable
16
REFER TO FIG.17A(E-6) FOR
SPECIAL NOTE
Unavailable
