- Partiron
- OEM Parts
- Suzuki
- Motorcycle
- 1995
- GSX-R750WS (1995)
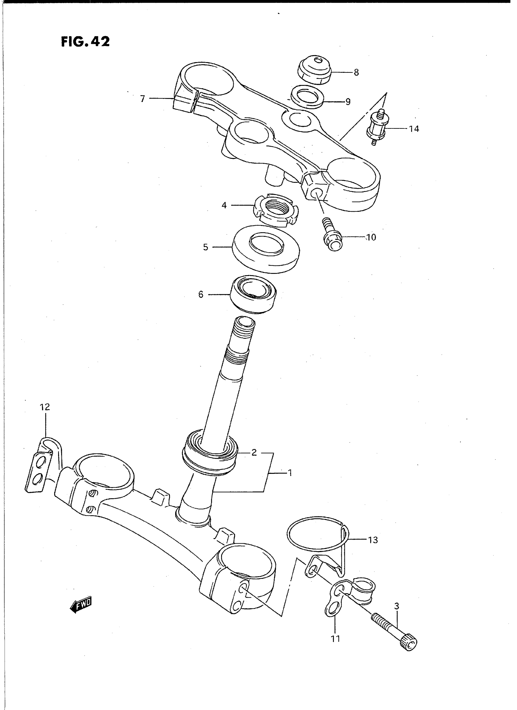
STEERING STEM
Suzuki GSX-R750WS (1995) STEERING STEM Diagram
#
Description
Price
1
STEM, STEERING | MODEL P
51410-17E00
Unavailable
1
STEM, STEERING | MODEL R/S; Includes Item(s) 2
51410-17E20
Unavailable
3
BOLT,10X45 | MODEL P This part replaces 09106-10022.
09106-10022-XC0
Unavailable
6
BEARING
09265-25008
Unavailable
7
BRACKET, UPPER | MODEL P
51311-17E00
Unavailable
7
BRACKET, UPPER | MODEL R/S
51311-17E20
Unavailable
11
CLAMP, METER CABLE | MODEL P
34938-17E10
Unavailable
12
CLAMP, CLUTCH CABLE | MODEL P
58285-17C00
Unavailable
13
HOLDER, STEERING DAMPER | MODEL P
51740-17D00
Unavailable
14
CUSHION, METER | MODEL P
17788-10D00
Unavailable
