- Partiron
- OEM Parts
- Suzuki
- Motorcycle
- 1995
- GSX-R750WS (1995)
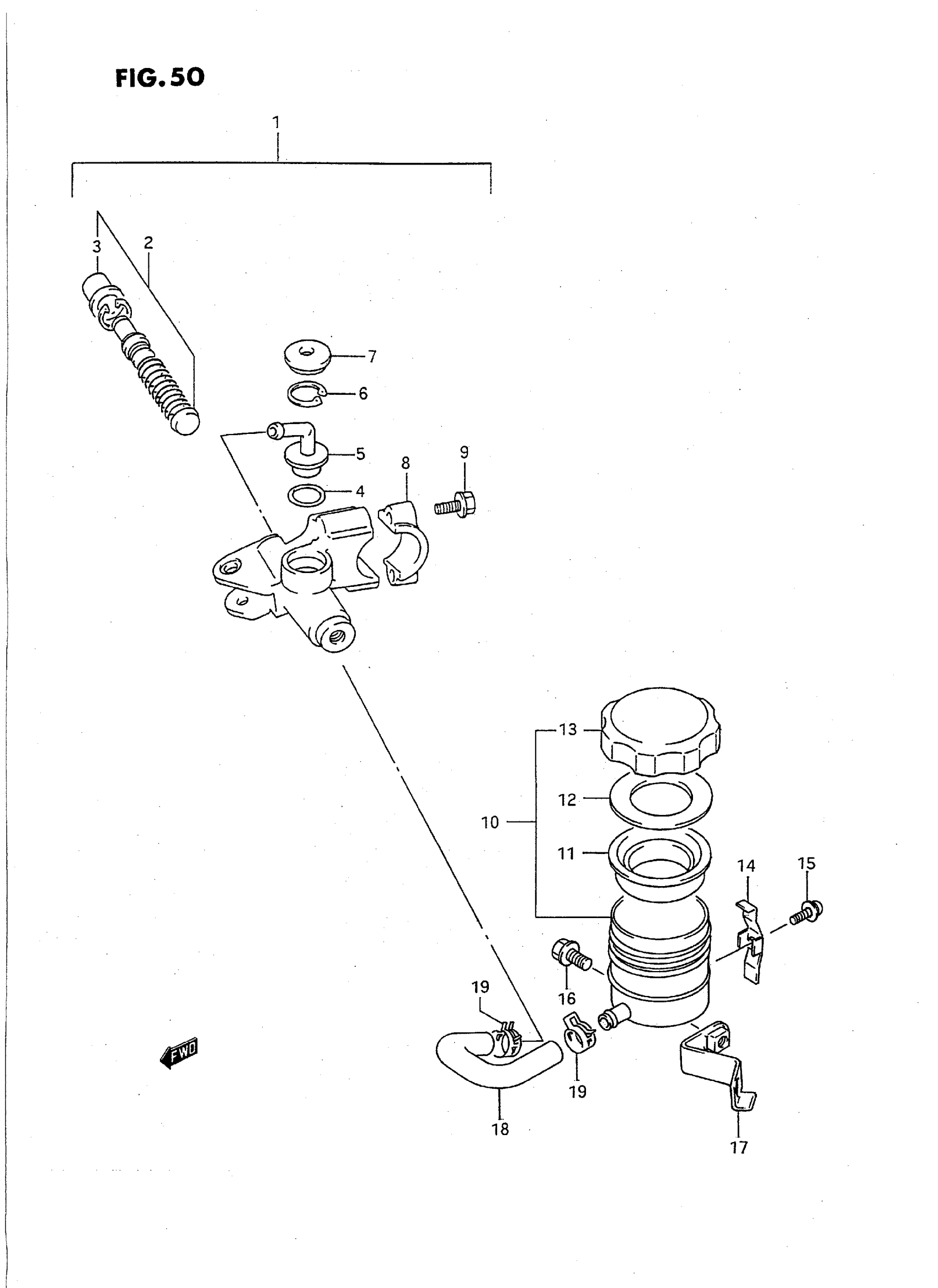
FRONT MASTER CYLINDER
Suzuki GSX-R750WS (1995) FRONT MASTER CYLINDER Diagram
#
Description
Price
17
NO DESCRIPTION AVAILABLE This part replaces 59750-17E00.
59750-17E01
Unavailable
20
TAG, RESERVOIR TANK | DRAWING NOT SHOWN
68321-17E10
Unavailable
