- Partiron
- OEM Parts
- Suzuki
- Motorcycle
- 1995
- GSX-R750W (1995)
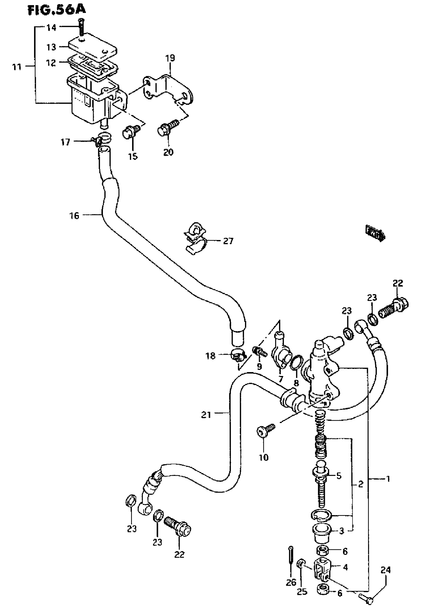
REAR MASTER CYLINDER (MODEL R/S)
Suzuki GSX-R750W (1995) REAR MASTER CYLINDER (MODEL R/S) Diagram
#
Description
Price
1
CYLINDER ASSY, REAR MASTER
69600-17E00
Unavailable
5
ROD, PUSH
69670-17E00
Unavailable
10
BOLT MU)
09139-08010
Unavailable
11
TANK ASSY. REAR RESERVOIR
69740-24A01
Unavailable
16
HOSE, RESERVOIR TANK
69731-17E00
Unavailable
17
CLAMP, LOWER | MODEL R This part replaces 09402-15502.
09402-17511
Unavailable
18
CLAMP, LOWER | MODEL S
09402-17511
Unavailable
19
PLATE, RESERVOIR TANK
69750-46E00
Unavailable
21
HOSE. REAR BRAKE
69480-17E20
Unavailable
