- Partiron
- OEM Parts
- Suzuki
- Motorcycle
- 1995
- GSX-R750W (1995)
REAR MASTER CYLINDER (MODEL P)
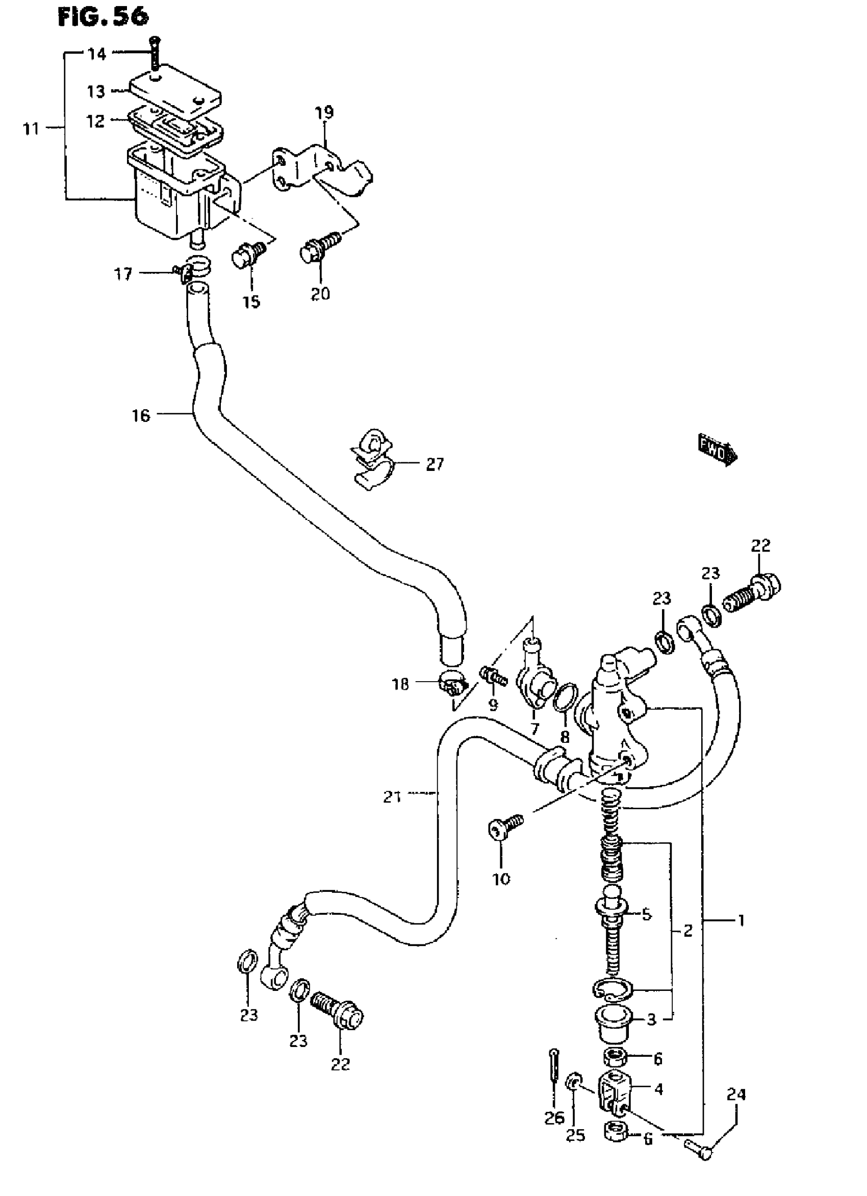
Suzuki GSX-R750W (1995) REAR MASTER CYLINDER (MODEL P) Diagram
#
Description
Price
1
CYLINDER ASSY, REAR MASTER
69600-17E00
Unavailable
5
ROD, PUSH
69670-17E00
Unavailable
10
BOLT WV)
09139-08009
Unavailable
11
TANK ASSY, REAR RESERVOIR
69740-24A01
Unavailable
16
HOSE, RESERVOIR TANK
69731-17E00
Unavailable
18
CLAMP, LOWER This part replaces 09402-15502.
09402-17511
Unavailable
19
PLATE, , RESERVOIR TANK | -F.NLO.105796 FOR 41200-17EO0
69750-17E00
Unavailable
19
PLATE, RESERVOIR TANK | F.NO.105797- FOR 41200-17E01
69750-46E00
Unavailable
21
HOSE, REAR BRAKE
69480-17E10
Unavailable
