- Partiron
- OEM Parts
- Suzuki
- Motorcycle
- 1995
- GSX-R750W (1995)
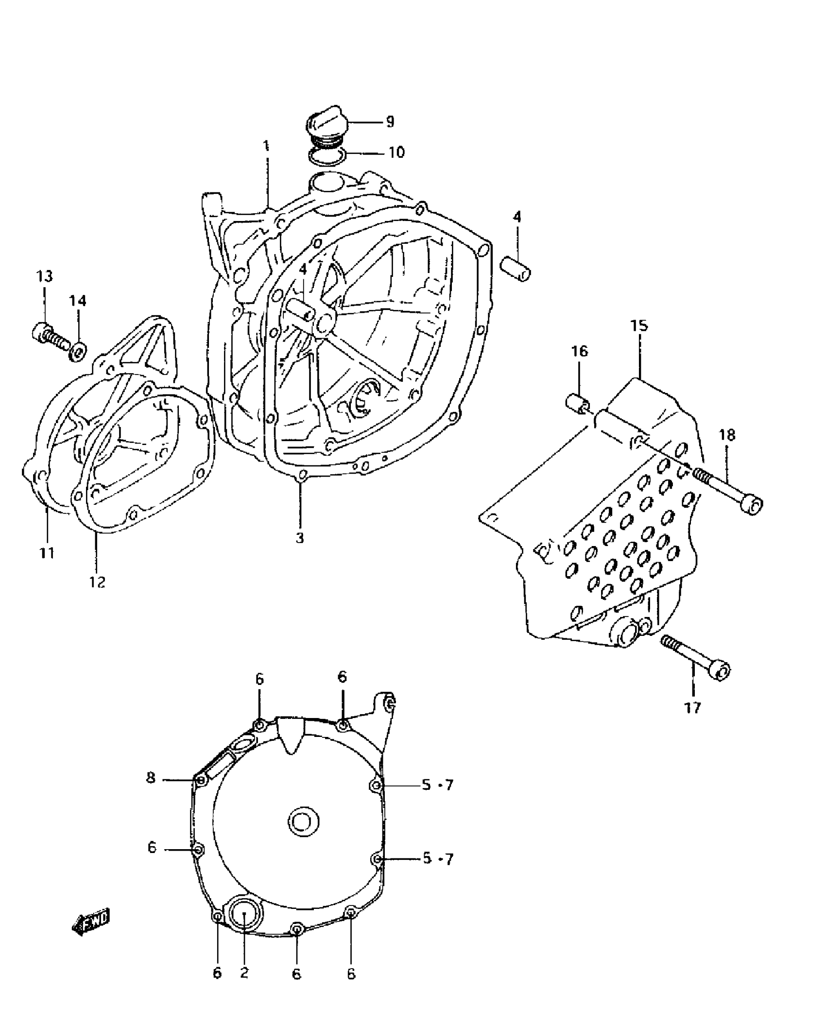
CRANKCASE COVER
Suzuki GSX-R750W (1995) CRANKCASE COVER Diagram
#
Description
Price
1
COVER, CLUTCH | MODEL P This part replaces 11340-17E01.
11340-21E00
Unavailable
1
COVER, CLUTCH | MODEL R/S
11340-21E00
Unavailable
3
GASKET, CLUTCH COVER (NA)
11482-17E00
Unavailable
11
COVER, SIGNAL GENERATOR | MODEL P This part replaces 11381-17E00.
11381-31E00
Unavailable
11
COVER, SIGNAL GENERATOR | MODEL R/S
11381-31E00
Unavailable
12
GASKET. SIGNAL GENERATOR COVER
11491-17E01
Unavailable
13
BOLT,6X23 | MODEL P This part replaces 09106-06059.
09106-06059-XC0
Unavailable
15
COVER, ENGINE SPROCKET | MODEL P This part replaces 11361-17E00.
11361-17E10
Unavailable
15
COVER, ENGINE SPROCKET | MODEL R/S
11361-17E10
Unavailable
