- Partiron
- OEM Parts
- Suzuki
- Motorcycle
- 2023
- GSX-R750M3 (2023)
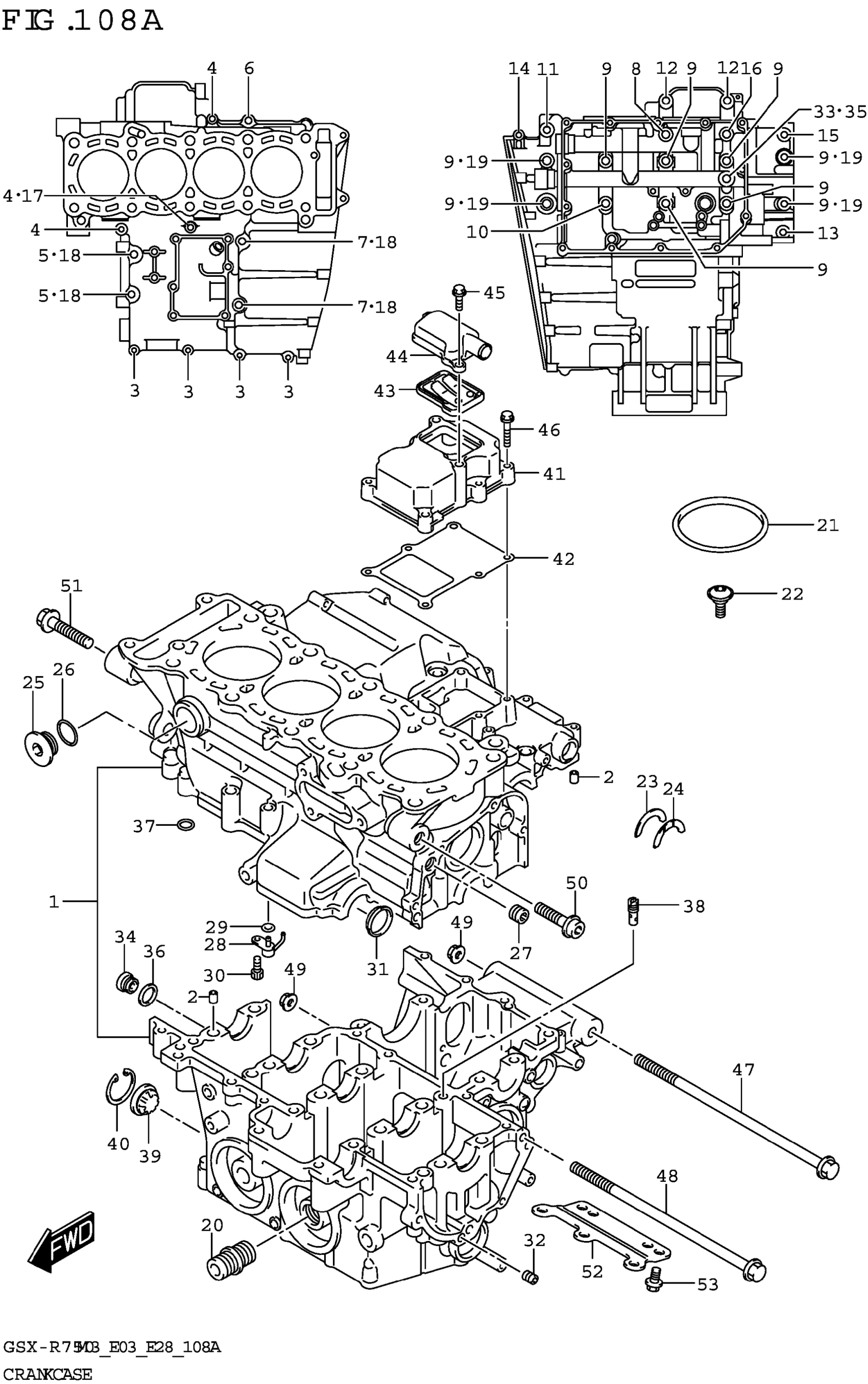
CRANKCASE
Suzuki GSX-R750M3 (2023) CRANKCASE Diagram
#
Description
Price
41
COVER,BREATHER
11371-01H00
Unavailable
44
COVER,BREATHER REED VALVE
11372-01H00
Unavailable
