- Partiron
- OEM Parts
- Suzuki
- Motorcycle
- 2021
- GSX-R750M1 (2021)
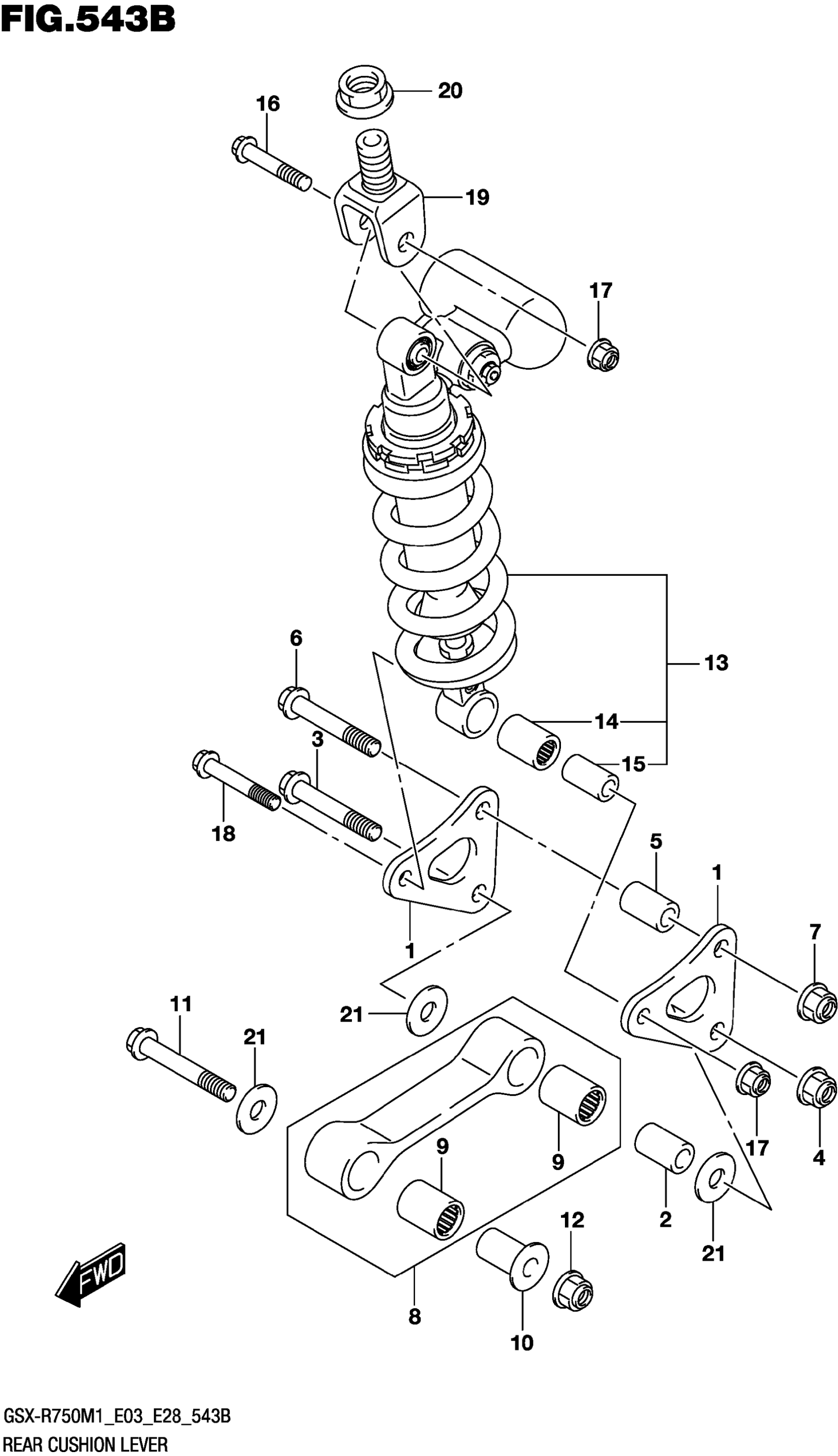
REAR CUSHION LEVER
Suzuki GSX-R750M1 (2021) REAR CUSHION LEVER Diagram
#
Description
Price
13
ABSORBER ASSY, REAR SHOCK (BL | CK)
62100-15870-019
Unavailable
