- Partiron
- OEM Parts
- Suzuki
- Motorcycle
- 2021
- GSX-R750M1 (2021)
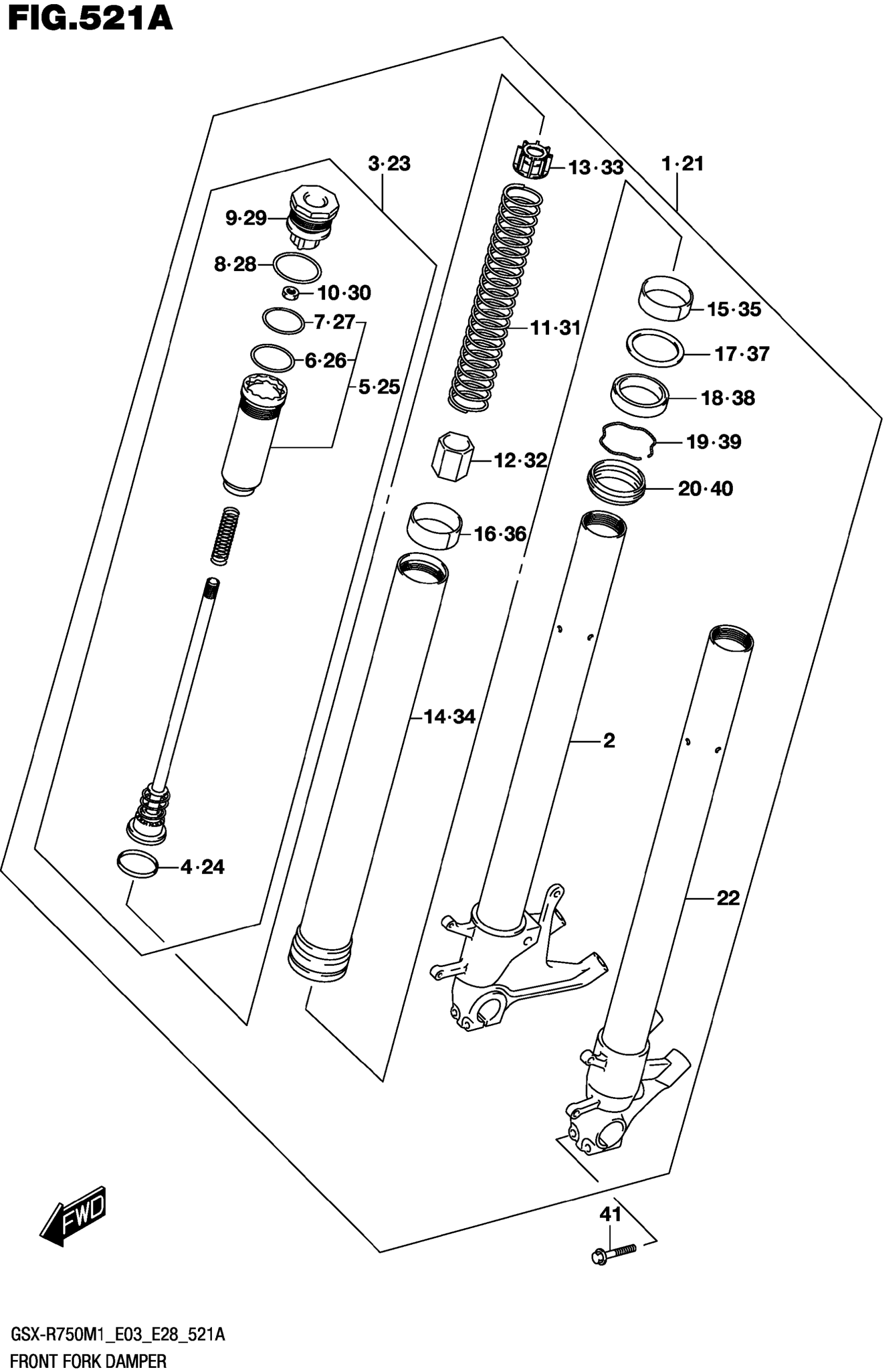
FRONT FORK DAMPER
Suzuki GSX-R750M1 (2021) FRONT FORK DAMPER Diagram
#
Description
Price
3
.ROD,PISTON
52110-15J00
Unavailable
10
..NUT
51827-29G00
Unavailable
23
.ROD,PISTON
52110-15J00
Unavailable
30
..NUT
51827-29G00
Unavailable
